授权公布号:CN218937929U
一种酒醅中氨基甲酸乙酯检测前处理装置
有效
申请
2023-01-09
申请公布
1970-01-01
授权
2023-04-28
预估到期
2033-01-09
| 申请号 | CN202320052179.X |
| 申请日 | 2023-01-09 |
| 授权公布号 | CN218937929U |
| 授权公告日 | 2023-04-28 |
| 分类号 | G01N1/34;B01D36/00;B01D15/10;G01N1/40 |
| 分类 | 测量;测试; |
| 申请人名称 | 安徽金种子酒业股份有限公司 |
| 申请人地址 | 安徽省阜阳市颍州区河滨路302号 |
专利法律状态
2023-04-28
授权
状态信息
授权
摘要
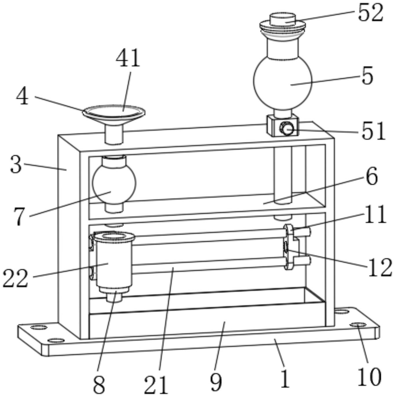
本实用新型公开了一种酒醅中氨基甲酸乙酯检测前处理装置,包括底板和调节机构;底板:其上表面中部设有框架,框架上表面对称设置的安装口内分别设有漏斗和圆形玻璃滴管,漏斗位于圆形玻璃滴管的左侧,框架的内部设有中层板,中层板左端的圆孔内设有与漏斗下端开口对应的球形滴管,中层板的右端设有与圆形玻璃滴管下端对应的避让孔,球形滴管的内部均匀填充有活性炭颗粒;该酒醅中氨基甲酸乙酯检测前处理装置,能够对酒醅中氨基甲酸乙酯检测前进行过滤、淋洗和洗脱处理,方便对碱性硅藻土柱进行定位移动,从而一体化对酒醅中氨基甲酸乙酯进行前处理,而且结构简单,操作性强。


