授权公布号:CN212674086U
机械式研磨盘齿形扫描仪
有效
申请
2020-08-03
申请公布
1970-01-01
授权
2021-03-09
预估到期
2030-08-03
| 申请号 | CN202021566198.7 |
| 申请日 | 2020-08-03 |
| 授权公布号 | CN212674086U |
| 授权公告日 | 2021-03-09 |
| 分类号 | G01B11/24 |
| 分类 | 测量;测试; |
| 申请人名称 | 深圳美乐家家用产品有限公司 |
| 申请人地址 | 广东省深圳市宝安区松岗街道塘下涌社区同富裕工业园兴隆路5号 |
专利法律状态
2021-03-09
授权
状态信息
授权
摘要
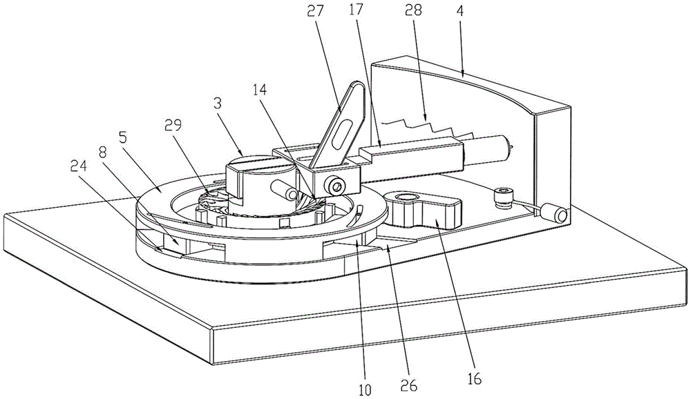
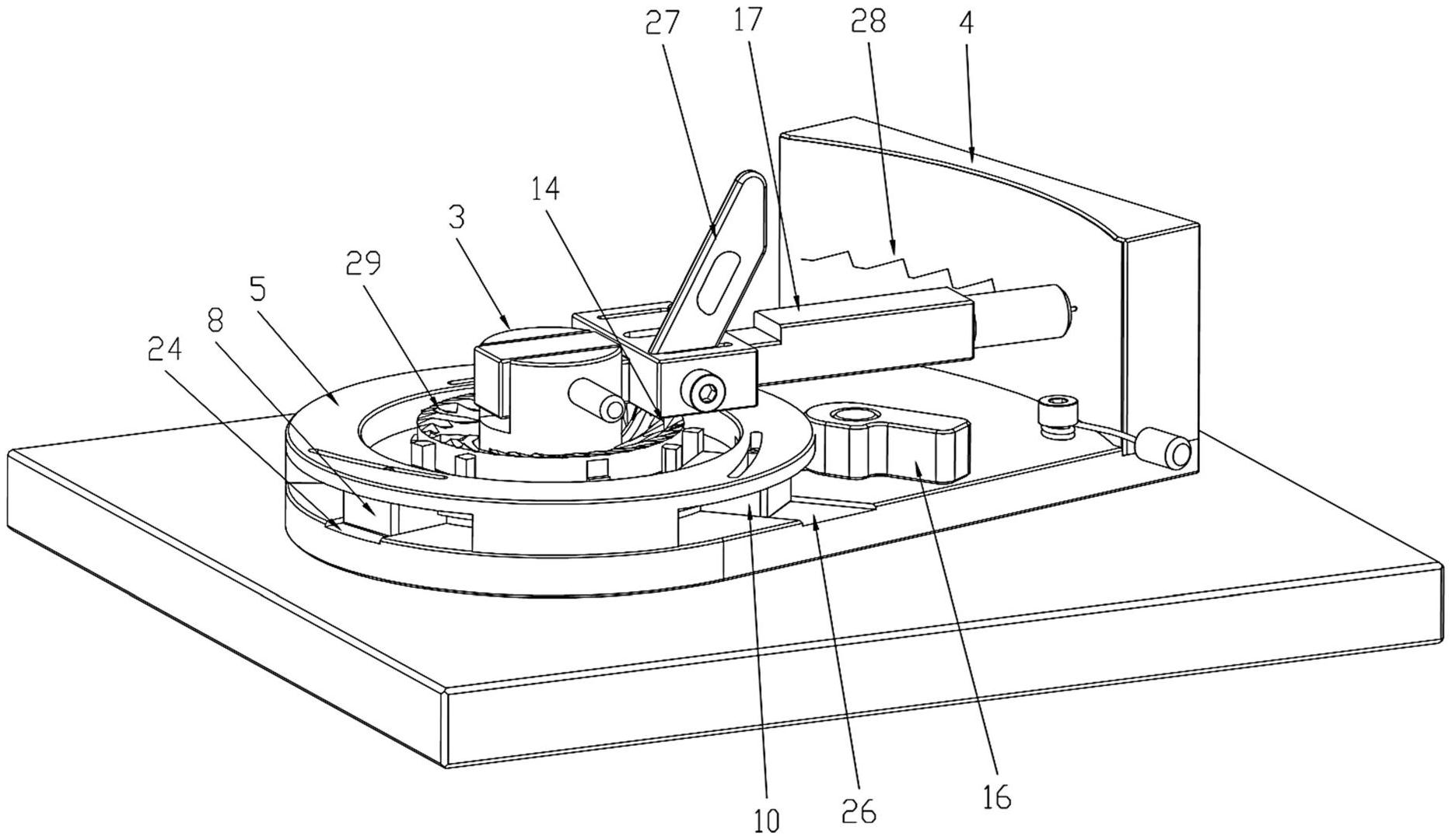
本实用新型公开了一种机械式研磨盘齿形扫描仪,主要包括测量执行机构的旋转座,杠杆,杠杆前端的扫描笔,杠杆上安装的探头,与研磨盘同步转动的扫描屏;被测对象固定机构的定位环,滑块,定位锁紧器;使用极薄的硬质高碳钢作为探头,在转动的研磨盘的特定半径的齿面上作连续接触,通过杠杆放大原理,用扫描笔描绘出被测齿面的径向截面的放大轮廓线,便于用其它工具继续作量化的测量分析,并减少了精度误差;被测量的研磨盘通过三个曲槽同步驱动的三个滑块作定位,保证了测量时截面半径的同心度,并方便重复放置,提高了工作效率;定位锁紧装置使被测量的研磨盘稳定牢固,保持与扫描屏同步转动,保证了测量的可靠性。


