授权公布号:CN213246669U
一种海参加工用冷风干燥机
有效
申请
2020-08-21
申请公布
1970-01-01
授权
2021-05-25
预估到期
2030-08-21
| 申请号 | CN202021763763.9 |
| 申请日 | 2020-08-21 |
| 授权公布号 | CN213246669U |
| 授权公告日 | 2021-05-25 |
| 分类号 | B07B1/42;B07B1/46;B07B1/28;A23B4/03 |
| 分类 | 其他类不包含的食品或食料;及其处理; |
| 申请人名称 | 大连棒棰岛海产股份有限公司 |
| 申请人地址 | 辽宁省大连市金州区五一路987号 |
专利法律状态
2021-05-25
授权
状态信息
授权
摘要
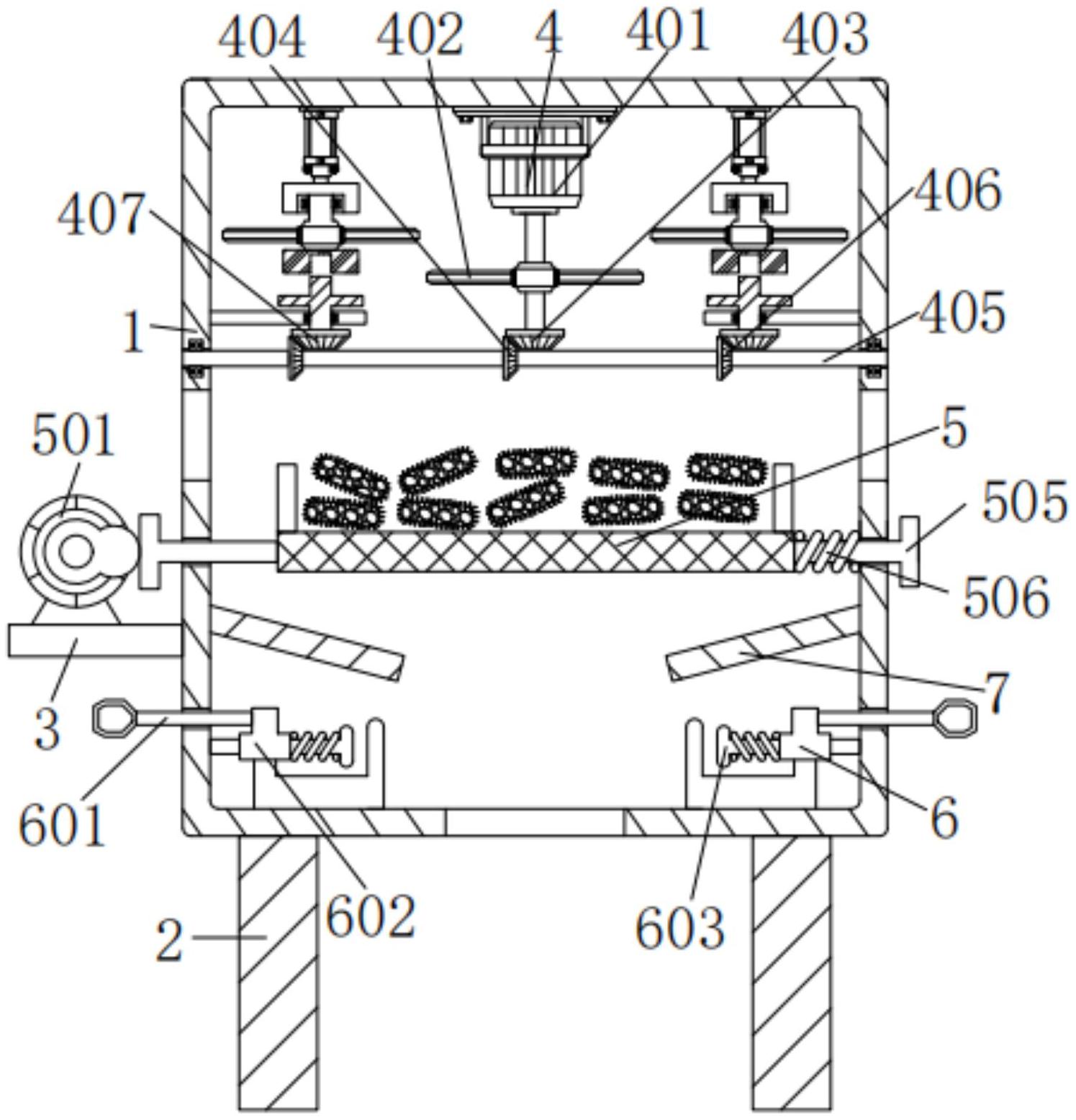
本实用新型公开了一种海参加工用冷风干燥机,包括第一外壳、支柱和横板,所述第四锥形齿轮的顶部固接有圆棒,所述圆棒的外壁下方通过轴承与薄板的内壁转动相连,所述薄板的左侧与第一外壳的内壁左侧上方固定连接,所述圆棒的上方设有凹板,所述凹板的顶部固接有第二扇叶,所述第二扇叶的外壁上方通过轴承与方板的内壁转动相连,所述方板的顶部与液压缸的内部液压杆固定连接,所述液压缸的顶部与第一外壳的内壁顶部左侧固定连接。该装置通过薄板、凹板和方板之间的配合,通过液压缸间接带动第二扇叶,第一电机带动第一扇叶和第二扇叶转动,增大了风机,解决了无法改变风力大小的问题,满足现代人们的工作需求,便于推广和使用。


