授权公布号:CN212464788U
一种皮蛋粥生产用振动成糊混匀装置
有效
申请
2020-06-15
申请公布
1970-01-01
授权
2021-02-05
预估到期
2030-06-15
| 申请号 | CN202021097143.6 |
| 申请日 | 2020-06-15 |
| 授权公布号 | CN212464788U |
| 授权公告日 | 2021-02-05 |
| 分类号 | A23L7/10; |
| 分类 | 其他类不包含的食品或食料;及其处理; |
| 申请人名称 | 大连海晏堂生物有限公司 |
| 申请人地址 | 辽宁省大连市旅顺口区旅顺中路38号 |
专利法律状态
2021-02-05
授权
状态信息
授权
摘要
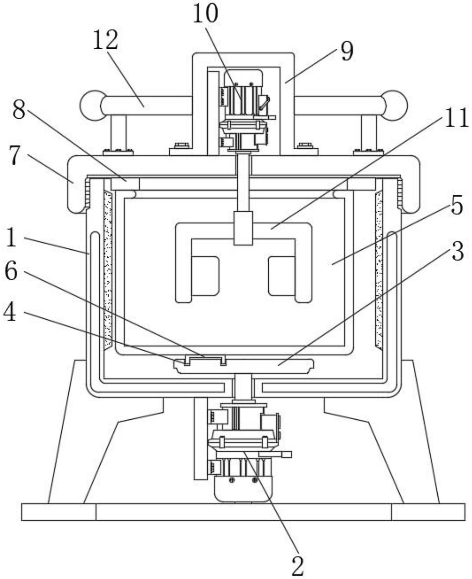
本实用新型涉及皮蛋粥生产设备技术领域,具体为一种皮蛋粥生产用振动成糊混匀装置,包括外胆、第一电机、第二电机和控制面板,所述外胆的底部中间位置固定安装有第一电机,且第一电机的转动输出轴上固定安装有甩动盘,所述甩动盘的顶部开设有槽口,所述外胆的内部放置有内胆。本实用新型通过设置槽口偏心开设在甩动盘的顶部,配合连接环卡合在槽口的内部,使得该装置在使用时,通过第一电机的转动带动甩动盘转动,从而使得内胆在外胆内部甩动,同时,通过第二电机通电启动后带动搅拌叶转动,两者相互配合,使得内胆内部放置的皮蛋粥与辅料混合均匀,且在甩动下振动成糊,有利于使得老人以及病人对该装置生产的皮蛋粥吞咽方便。


