授权公布号:CN220501835U
一种位置检测传感器保护装置及具有其的链式输送设备
有效
申请
2023-07-05
申请公布
1970-01-01
授权
2024-02-20
预估到期
2033-07-05
| 申请号 | CN202321751675.0 |
| 申请日 | 2023-07-05 |
| 授权公布号 | CN220501835U |
| 授权公告日 | 2024-02-20 |
| 分类号 | B65G43/08;B65G17/30 |
| 分类 | 输送;包装;贮存;搬运薄的或细丝状材料; |
| 申请人名称 | 泸州老窖股份有限公司 |
| 申请人地址 | 四川省泸州市国窖广场 |
专利法律状态
2024-02-20
授权
状态信息
授权
摘要
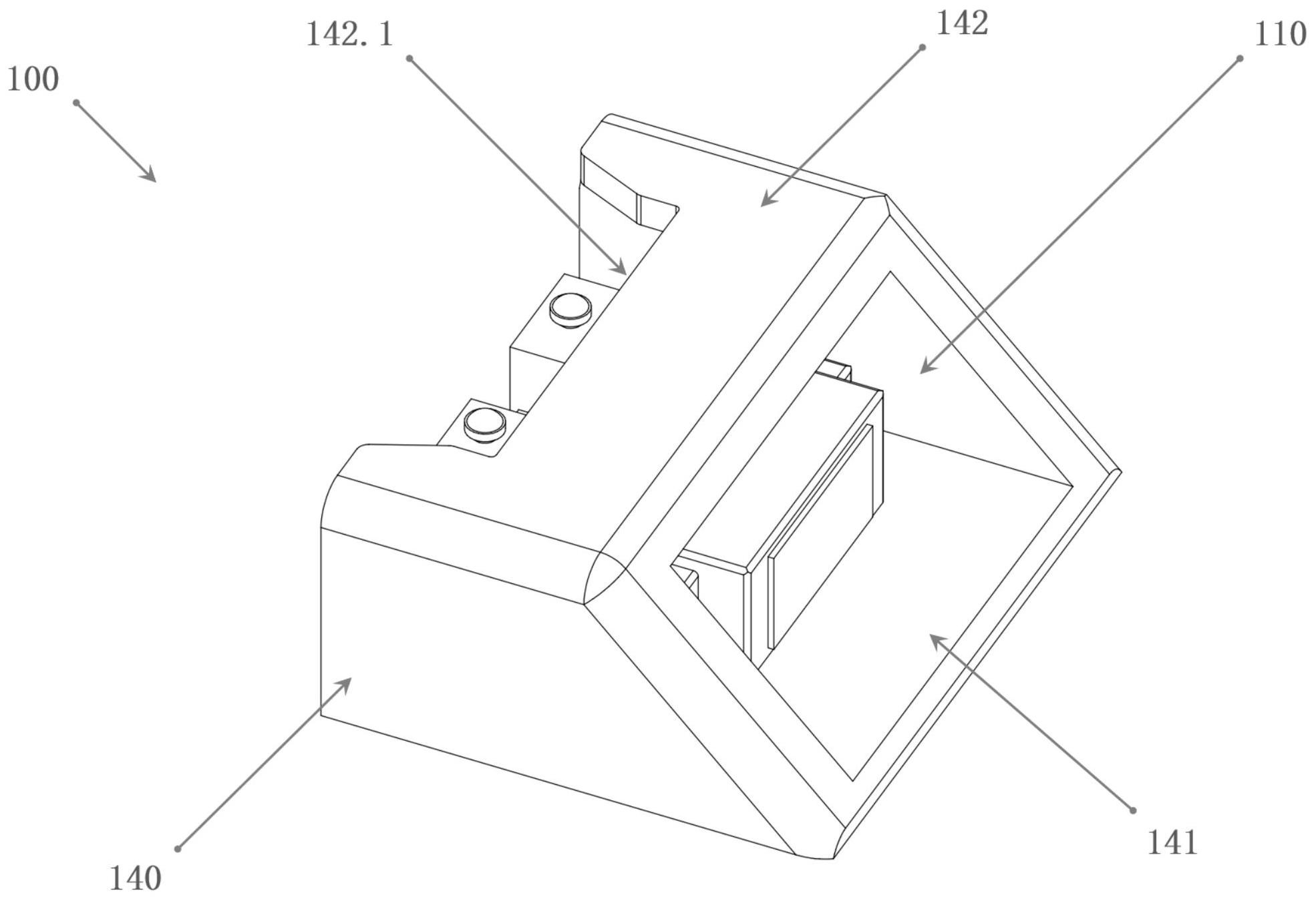
本实用新型提供一种位置检测传感器保护装置及具有其的链式运输设备,至少包括用于容置传感器主体的防护主体,所述防护主体具有连通形成容纳腔的第一开口和与第一开口相对的第二开口,所述防护主体具有从所述第一开口延伸至所述第二开口的壳体,所述壳体的拐角部设置为弧面,以在与外物碰撞过程中产生卸力作用,避免因直接碰撞发生变形。所述防护主体的壳体至少包括接触外部设备的底面,所述底面远离传送带一侧垂直设置有第一调节部以调节传感器主体在防护主体中的相对位置。所述第二开口以朝向远离容纳腔的方向延伸的方式设置为倾斜开口以尽量减小对传感器主体的视野遮挡,同时也尽量减小防护主体与传送带上物品的碰撞面积。


