授权公布号:CN219128483U
用于白酒过滤装置的流量调节组件
有效
申请
2022-12-29
申请公布
1970-01-01
授权
2023-06-06
预估到期
2032-12-29
| 申请号 | CN202223550367.X |
| 申请日 | 2022-12-29 |
| 授权公布号 | CN219128483U |
| 授权公告日 | 2023-06-06 |
| 分类号 | B01D29/60;B01D29/50;B01D29/96;B01D35/30;C12H1/07 |
| 分类 | 一般的物理或化学的方法或装置; |
| 申请人名称 | 泸州老窖股份有限公司 |
| 申请人地址 | 四川省泸州市国窖广场泸州老窖股份有限公司 |
专利法律状态
2023-06-06
授权
状态信息
授权
摘要
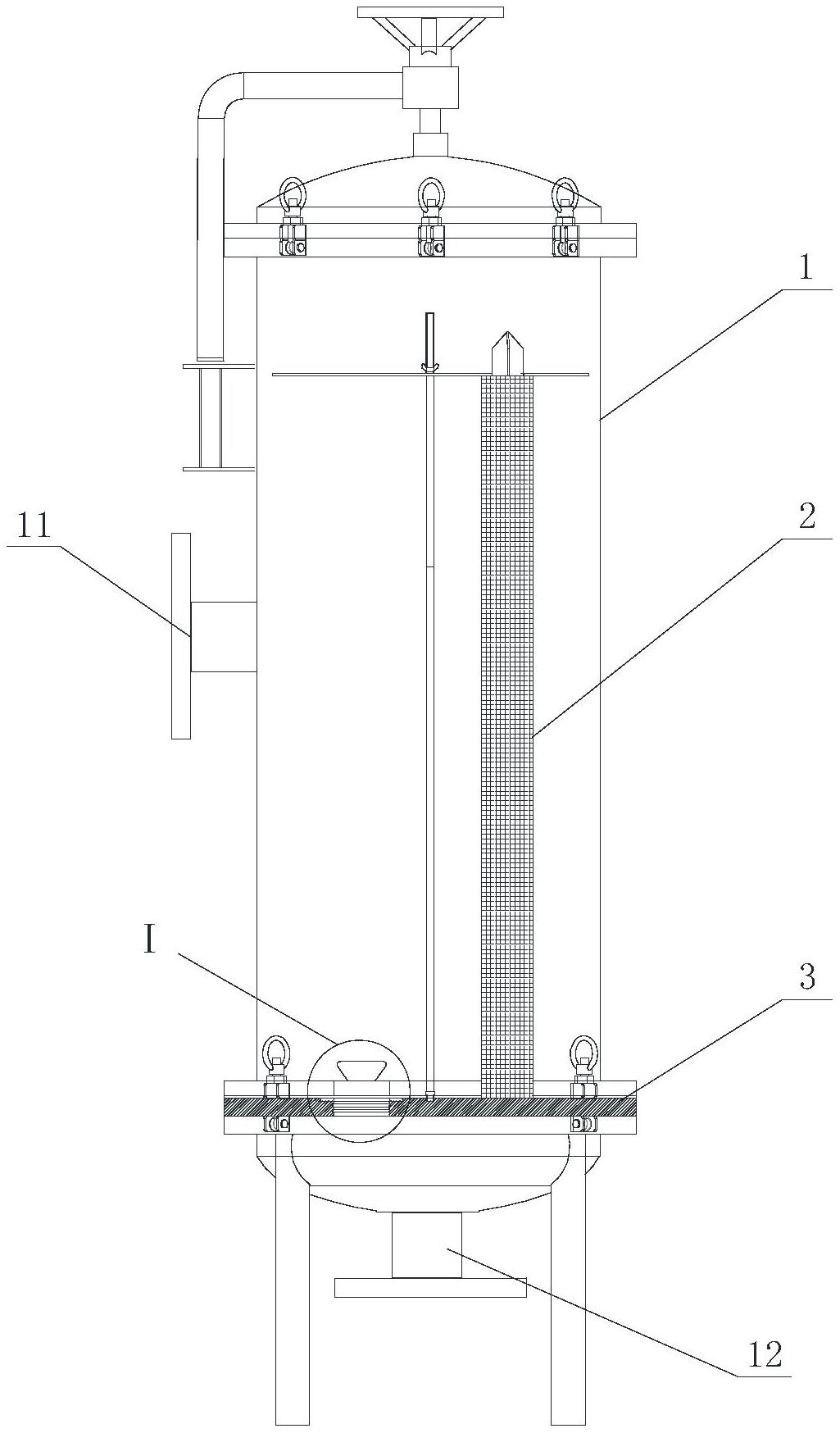
本实用新型公开的是酿酒设备领域的一种用于白酒过滤装置的流量调节组件,包括过滤筒体和滤芯,所述过滤筒体内的底部设有安装卡盘,安装卡盘上设有安装孔,所述滤芯安装在安装卡盘的安装孔上,还包括流量调节堵头,所述流量调节堵头与安装卡盘上的安装孔可拆卸连接,并能对安装孔进行封堵。本实用新型通过增加流量调节堵头,可根据所需的过滤量来确定滤芯安装数量,对不需要安装滤芯的安装孔进行封堵即可,无需更换整个过滤器外壳,可满足不同流量下的生产工况,实现过滤装置过滤量的调节,避免了因超压导致的滤芯破损、变形甚至击穿等问题,也不会因安装过多滤芯,造成不必要的耗材损耗,扩展了过滤器的适用范围,降低了生产成本。


