授权公布号:CN117127735B
一种隔震层抗拉装置
有效
申请
2023-10-25
申请公布
2023-11-28
授权
2024-02-09
预估到期
2043-10-25
| 申请号 | CN202311385739.4 |
| 申请日 | 2023-10-25 |
| 申请公布号 | CN117127735A |
| 申请公布日 | 2023-11-28 |
| 授权公布号 | CN117127735B |
| 授权公告日 | 2024-02-09 |
| 分类号 | E04B1/98;E04H9/02 |
| 分类 | 建筑物; |
| 申请人名称 | 北京城建集团有限责任公司 |
| 申请人地址 | 北京市海淀区北太平庄路18号 |
专利法律状态
2024-02-09
授权
状态信息
授权
2023-12-15
实质审查的生效
状态信息
实质审查的生效;IPC(主分类):E04B1/98;申请日:20231025
2023-11-28
公布
状态信息
公布
摘要
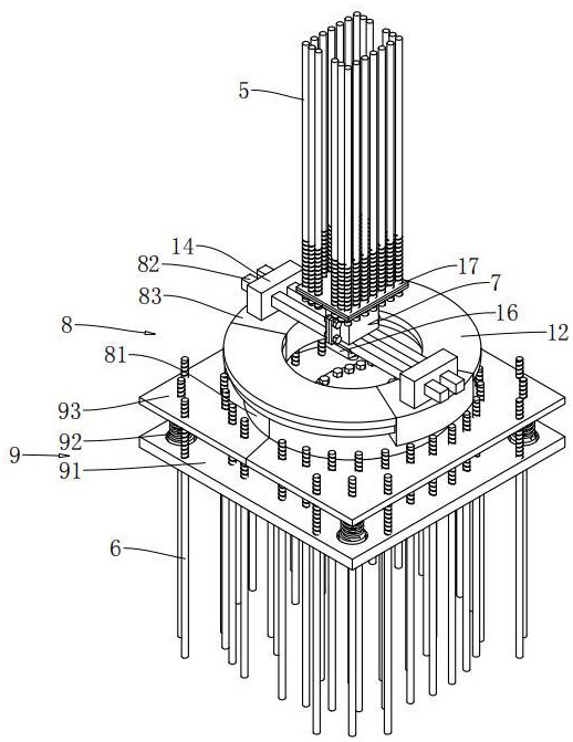
本申请涉及建筑减隔震技术领域,尤其是涉及一种隔震层抗拉装置,其包括下基板、多个连接弹簧、下基座轨道板、环形轨道、两个滑块、径向滑动轨道、上部连接件、多个上锚筋和多个下锚筋;下基板通过各连接弹簧与下基座轨道板连接,各下锚筋的一端与下层结构连接,各下锚筋的另一端依次穿设在下基板和下基座轨道板上并与下基座轨道板固定;环形轨道设置在下基座轨道板背离下基板的一侧,各滑块均与环形轨道滑动连接,径向滑动轨道的两端分别固定在两个滑块上,上部连接件与径向滑动轨道滑动连接,各上锚筋的一端与上层结构连接,各上锚筋的另一端与上部连接件连接。本申请具有使得抗拉装置在满足抗拉要求的前提下不会限制更多的自由度的效果。


