授权公布号:CN109812621B
一种混凝土包封管道结构及其施工方法
有效
申请
2019-02-01
申请公布
2019-05-28
授权
2024-01-30
预估到期
2039-02-01
| 申请号 | CN201910103993.8 |
| 申请日 | 2019-02-01 |
| 申请公布号 | CN109812621A |
| 申请公布日 | 2019-05-28 |
| 授权公布号 | CN109812621B |
| 授权公告日 | 2024-01-30 |
| 分类号 | F16L1/028;F16L1/11;E01C7/32;E02D15/02 |
| 分类 | 工程元件或部件;为产生和保持机器或设备的有效运行的一般措施;一般绝热; |
| 申请人名称 | 北京城建集团有限责任公司 |
| 申请人地址 | 北京市海淀区北太平庄路18号城建大厦B座19、21层 |
专利法律状态
2024-01-30
授权
状态信息
授权
2019-06-21
实质审查的生效
状态信息
实质审查的生效;IPC(主分类):F16L1/028;申请日:20190201
2019-05-28
公布
状态信息
公布
摘要
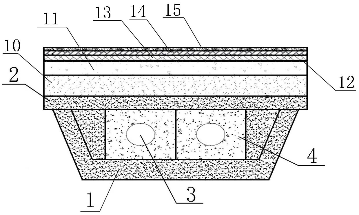
一种混凝土包封管道结构及其施工方法,混凝土包封管道结构包括从下而上依次设置的第一珊瑚砂层和第二珊瑚砂层;第一珊瑚砂层的横截面呈倒置的梯形,在第一珊瑚砂层埋设有一组管道,一组管道沿横向平行间隔布置;一组管道的外侧浇筑有混凝土包封层;混凝土包封层的顶部与第一珊瑚砂层的顶面平齐,混凝土包封层的底面与管道底部之间间距为200mm~300mm,混凝土包封层的侧面与管道对应一侧侧面之间间距为200mm~300mm;第二珊瑚砂层铺设在第一珊瑚砂层顶部,第二珊瑚砂层的两侧与道路结构的两侧边平齐。本发明解决了传统的混凝土包封航煤管道的施工方法中,因管道上浮和偏移存在的质量不合格、需要返工而延误工期的技术问题。


