授权公布号:CN217324014U
一种浓香型白酒副产物黄水的处理装置
有效
申请
2022-04-28
申请公布
1970-01-01
授权
2022-08-30
预估到期
2032-04-28
| 申请号 | CN202221011889.X |
| 申请日 | 2022-04-28 |
| 授权公布号 | CN217324014U |
| 授权公告日 | 2022-08-30 |
| 分类号 | C12F3/00;C12G3/02;C12H6/02 |
| 分类 | 生物化学;啤酒;烈性酒;果汁酒;醋;微生物学;酶学;突变或遗传工程; |
| 申请人名称 | 山东兰陵美酒股份有限公司 |
| 申请人地址 | 山东省临沂市兰陵县兰陵镇 |
专利法律状态
2022-08-30
授权
状态信息
授权
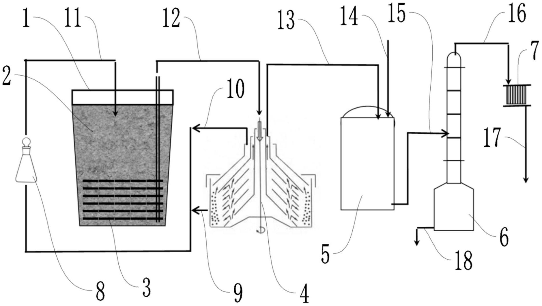
摘要
本实用新型公开了一种浓香型白酒副产物黄水的处理装置,属于白酒生产设备技术领域。所述浓香型白酒副产物黄水的处理装置包括窖池,所述窖池通过第一管道连接有离心机,所述离心机通过第二管道连接有发酵罐,离心机还连接有培养瓶,所述培养瓶通过第三回流管道与窖池连接,所述发酵罐通过第四管道连接有精馏塔,所述精馏塔通过第五管道连接有冷却器。本实用新型结构简单,操作便捷,省时省力,可以将黄水中的微生物及营养物质回收利用,既可以减少资源的浪费,又可提高酒质;将有机酸等酸类物质经过酯化后再次蒸馏,通过提高酒中呈香呈味的酯类物质获取优质原酒,还大大降低排放黄水的COD指标,极大的增加了黄水的利用价值和经济效益。


