授权公布号:CN219760583U
一种提升地下车库管线净高空间的装置
有效
申请
2023-05-22
申请公布
1970-01-01
授权
2023-09-26
预估到期
2033-05-22
| 申请号 | CN202321240380.7 |
| 申请日 | 2023-05-22 |
| 授权公布号 | CN219760583U |
| 授权公告日 | 2023-09-26 |
| 分类号 | H02G3/34;E04H6/00;E01F15/14;H02G3/04;F21V33/00 |
| 分类 | 发电、变电或配电; |
| 申请人名称 | 中海企业发展集团有限公司 |
| 申请人地址 | 广东省深圳市南山区粤海街道海珠社区文心五路11号汇通大厦10层 |
专利法律状态
2023-09-26
授权
状态信息
授权
摘要
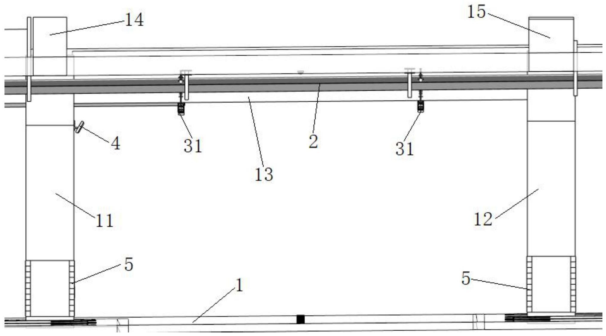
本实用新型涉及一种提升地下车库管线净高空间的装置,包括车道以及电桥架,车道的两侧分别设置有第一结构柱以及第二结构柱,第一结构柱的顶部与第二结构柱的顶部通过横梁相连接,第一结构柱的顶部设置有第一纵梁,所述第二结构柱的顶部设置有第二纵梁;所述电桥架通过第一吊架固定在地下车库的顶部,所述第一纵梁与所述第二纵梁向上凸起,所述第一纵梁与所述第二纵梁在竖直方向的高度高于所述电桥架在竖直方向的高度,所述电桥架在竖直方向的高度高于所述横梁在竖直方向的高度。区别于现有技术,将第一纵梁与第二纵梁形成反梁,让管线平直过车道,管线布置简单,安装方便,提升了地下车库管线的净高空间,保证了车道、管线的美观性。


