授权公布号:CN213977708U
一种可快速调温和均衡控温的搅拌型谷物浊液酶解罐
有效
申请
2020-11-30
申请公布
1970-01-01
授权
2021-08-17
预估到期
2030-11-30
| 申请号 | CN202022818425.7 |
| 申请日 | 2020-11-30 |
| 授权公布号 | CN213977708U |
| 授权公告日 | 2021-08-17 |
| 分类号 | C12M1/38;C12M1/40;C12M1/02;C12M1/00 |
| 分类 | 生物化学;啤酒;烈性酒;果汁酒;醋;微生物学;酶学;突变或遗传工程; |
| 申请人名称 | 安徽海神黄酒集团有限公司 |
| 申请人地址 | 安徽省合肥市庐江县泥河镇工城路1号 |
专利法律状态
2021-08-17
授权
状态信息
授权
摘要
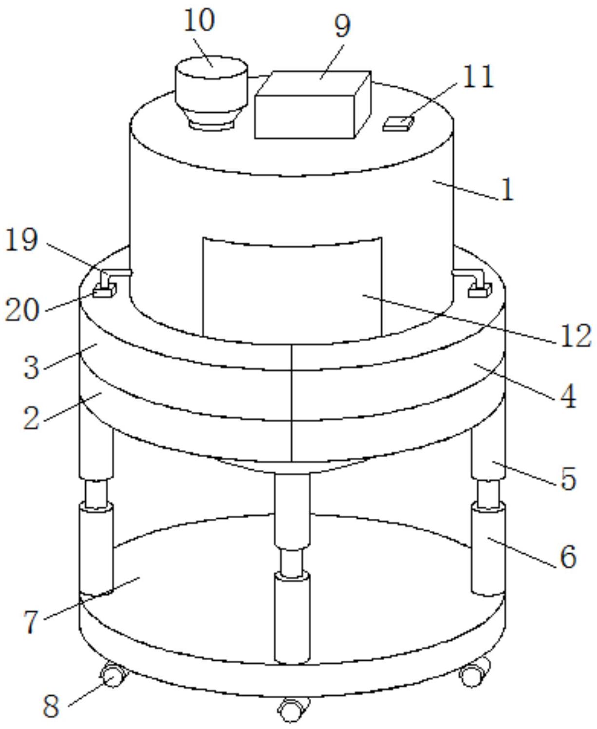
本实用新型公开了一种可快速调温和均衡控温的搅拌型谷物浊液酶解罐,包括罐体,所述罐体的外侧固定安装有固定台,所述固定台的上侧设置有冷水箱,所述冷水箱的右侧设置有热水箱,所述固定台的下侧固定安装有支撑柱,所述支撑柱的下侧设置有伸缩柱,所述伸缩柱的下侧固定安装有底板,所述底板的下侧设置有万向轮。该可快速调温和均衡控温的搅拌型谷物浊液酶解罐,可以快速调温和均衡控温,使用起来十分方便,搅拌棒、搅拌叶和刮边板对谷物浊液进行搅拌,加快酶解速度,同时也能防止浊物沉淀在桶体的底部,使得清洗起来更加方便,支撑柱的内侧设置了弹簧,可以起到减震的作用,防止在搅拌的过程中罐体晃动得太厉害。


