授权公布号:CN220165996U
矿化复合滤芯及净水机
有效
申请
2023-04-28
申请公布
1970-01-01
授权
2023-12-12
预估到期
2033-04-28
| 申请号 | CN202321036874.3 |
| 申请日 | 2023-04-28 |
| 授权公布号 | CN220165996U |
| 授权公告日 | 2023-12-12 |
| 分类号 | C02F9/00;C02F1/44N;C02F1/68N;C02F1/00N |
| 分类 | 水、废水、污水或污泥的处理; |
| 申请人名称 | 青岛海尔施特劳斯水设备有限公司 |
| 申请人地址 | 山东省青岛市胶州市海尔路1号 |
专利法律状态
2023-12-12
授权
状态信息
授权
摘要
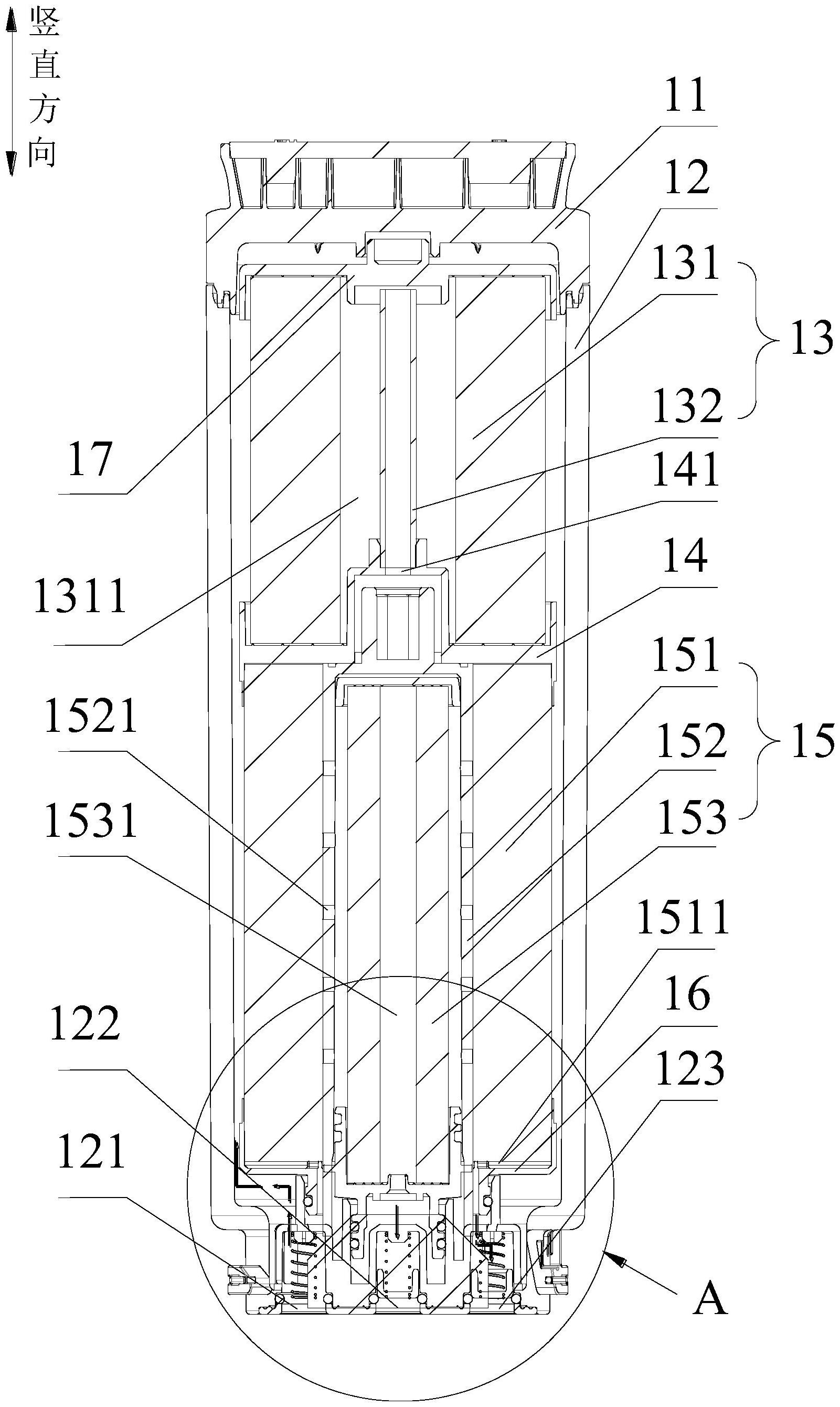
本发明属于净水设备技术领域,具体提供一种矿化复合滤芯及净水机。本发明旨在解决现有复合滤芯体积偏大和产生的纯水中只含有少量矿物质的问题。为此目的,本发明的矿化复合滤芯包括壳体和顶盖,顶盖扣设于壳体的第一端,壳体的第二端设置有原水进水口、纯水出水口和废水出水口,壳体内设有第一滤芯组件和第二滤芯组件,第一滤芯组件连接在第二滤芯组件的上游,第一滤芯组件包括第一矿化滤芯,第二滤芯组件包括纳滤膜和第二矿化滤芯,纳滤膜套设于第二矿化滤芯外周,通过将第一矿化滤芯设置在纳滤膜的上游,第二矿化滤芯设置在纳滤膜的内部,这样能够在减小复合滤芯体积的同时还能够有效提高复合滤芯产生的纯水中的矿物质的含量。


