授权公布号:CN220460352U
用于净水机的除垢模块以及净水机
有效
申请
2023-07-19
申请公布
1970-01-01
授权
2024-02-09
预估到期
2033-07-19
| 申请号 | CN202321908538.3 |
| 申请日 | 2023-07-19 |
| 授权公布号 | CN220460352U |
| 授权公告日 | 2024-02-09 |
| 分类号 | B01D65/08;B01D65/02;B01D61/08;B01D35/04;C02F1/44;C02F101/10N;C02F103/02N |
| 分类 | 一般的物理或化学的方法或装置; |
| 申请人名称 | 青岛海尔施特劳斯水设备有限公司 |
| 申请人地址 | 山东省青岛市胶州市海尔路1号 |
专利法律状态
2024-02-09
授权
状态信息
授权
摘要
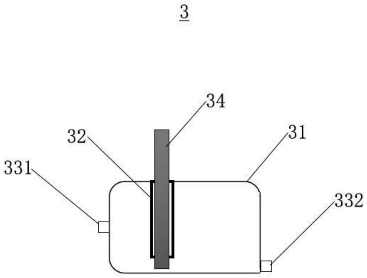
本实用新型涉及家用净水设备除垢技术领域,具体提供一种用于净水机的除垢模块以及净水机,旨在解决现有净水机中除垢模块使用不便利的问题。为此目的,本实用新型的除垢模块包括壳体以及投料管。其中,壳体具有腔室,壳体上设有与腔室连通的进水口和出水口;投料管与壳体固定连接,投料管的一端伸入壳体内并与腔室连通。通过这样的设置,当水经过进水口进入腔室内,腔室内的水位液面将投料管的一端浸没时,投料管内装载的固态除垢剂与水接触溶解并且与水形成除垢溶液,固态除垢剂在重力作用下能够沿着投料管自动送料,避免了人工频繁的添料操作,提升了除垢模块的使用便利性,提升了用户体验。


