授权公布号:CN211954893U
白酒分析提取装置
有效
申请
2020-04-20
申请公布
1970-01-01
授权
2020-11-17
预估到期
2030-04-20
| 申请号 | CN202020591285.1 |
| 申请日 | 2020-04-20 |
| 授权公布号 | CN211954893U |
| 授权公告日 | 2020-11-17 |
| 分类号 | G01N1/24;G01N1/44 |
| 分类 | 测量;测试; |
| 申请人名称 | 四川剑南春(集团)有限责任公司 |
| 申请人地址 | 四川省德阳市绵竹市春溢街四川剑南春(集团)有限责任公司 |
专利法律状态
2020-11-17
授权
状态信息
授权
摘要
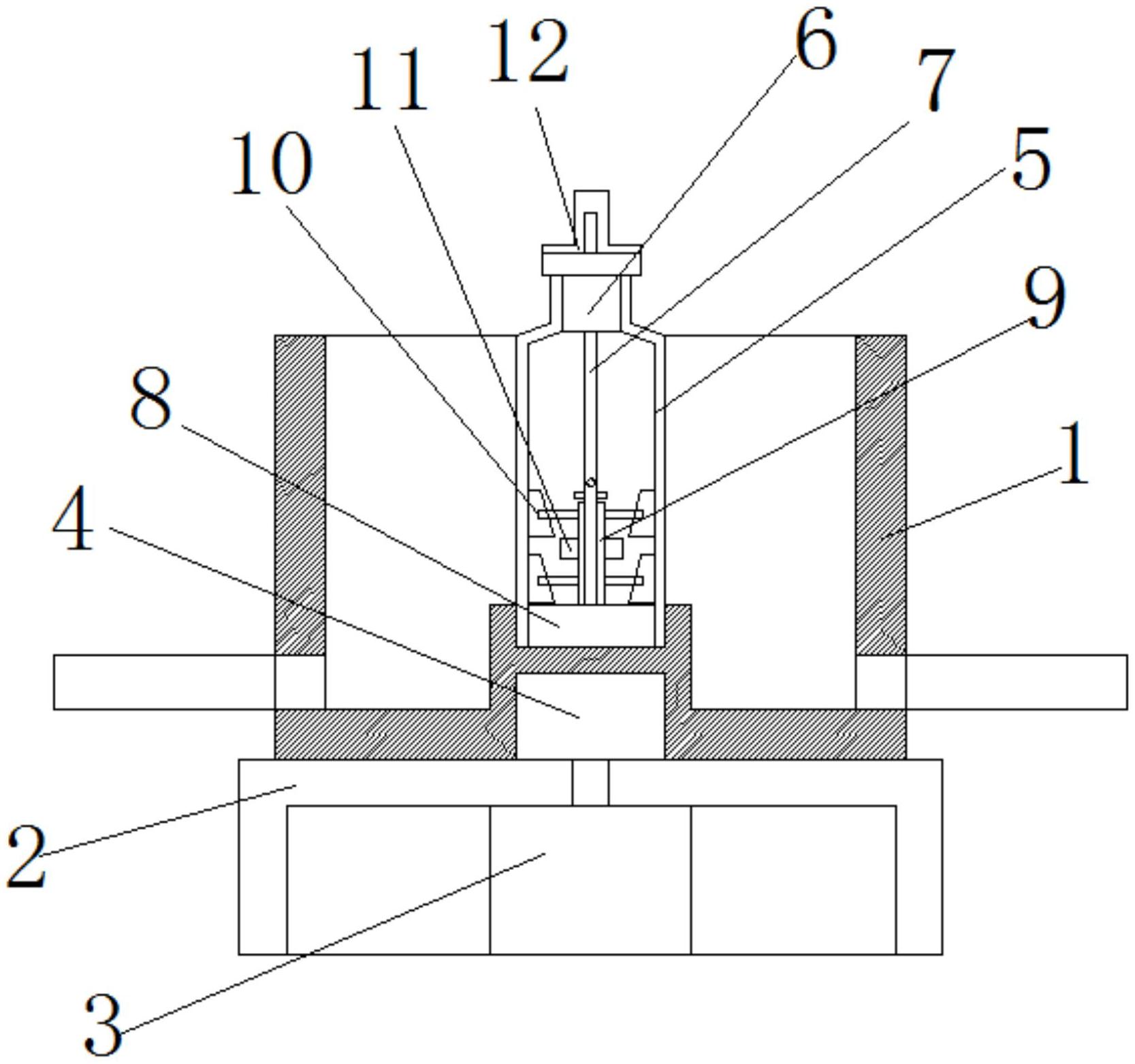
本实用新型公开了一种白酒分析提取装置,包括水浴桶、底座、驱动电机、永磁转盘、提取瓶、瓶塞、提取管、活塞、转筒、搅拌桨、永磁块和管塞,将装有待分析物的提取瓶的底部卡接固定在水浴桶中水浴加热,通过磁力吸引带动永磁块转动,从而对提取瓶内的待分析物搅动,使得提取瓶内的待分析物在水浴桶中加热的更加充分均匀,并且使待分析物中的挥发性物质充分挥发,再将提取管的顶部连接挥发气体分析仪器中的取样管,然后在向上拉动提取管,将提取瓶中还有挥发性物质的气体主动泵入分析仪器中,方便取样,减少取下瓶塞取样导致的气体溢散和污染,确保分析的准确,能够适用于白酒、酒糟、窖泥、黄水等不同种类物质的挥发性物质提取。


