授权公布号:CN209367028U
一种物料进仓设备
有效
申请
2018-10-23
申请公布
1970-01-01
授权
2019-09-10
预估到期
2028-10-23
| 申请号 | CN201821715007.1 |
| 申请日 | 2018-10-23 |
| 授权公布号 | CN209367028U |
| 授权公告日 | 2019-09-10 |
| 分类号 | B65G1/04 |
| 分类 | 输送;包装;贮存;搬运薄的或细丝状材料; |
| 申请人名称 | 会稽山绍兴酒股份有限公司 |
| 申请人地址 | 浙江省绍兴市柯桥区湖塘街道杨绍路2579号 |
专利法律状态
2019-09-10
授权
状态信息
授权
摘要
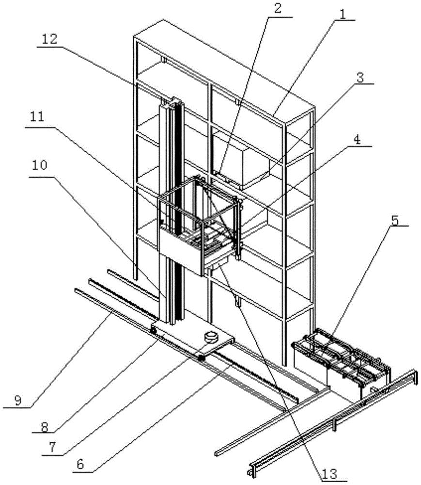
本实用新型公开了一种物料进仓设备,包括转运小车和升降平台,转运小车上设有竖直的导向轨道,导向轨道的中部设有与导向轨道平行的第二齿条,升降平台设有升降电机,升降电机的驱动轴上设有与第二齿条啮合的第二齿轮,导向轨道的两侧设有竖直的条形槽,升降平台的两侧均连接有两个伸入条形槽的升降轮,两个升降轮分别与条形槽的两个侧壁抵触,升降平台上设有垂直于滑轨的进料轨道,进料轨道上滑动连接有滑板,滑板连接有驱动滑板沿进料轨道伸缩的推杆电机,滑轨的一侧设有传送带,滑轨的中部设有与滑轨平行的第一齿条,转运小车上设第一驱动电机,第一驱动电机设与第一齿条啮合的第一齿轮,本实用新型提供了一种结构简单定位准确的物料进仓设备。


