授权公布号:CN117165391B
一种黄酒压滤装置及压滤工艺
有效
申请
2023-09-04
申请公布
2023-12-05
授权
2024-03-22
预估到期
2043-09-04
| 申请号 | CN202311128944.2 |
| 申请日 | 2023-09-04 |
| 申请公布号 | CN117165391A |
| 申请公布日 | 2023-12-05 |
| 授权公布号 | CN117165391B |
| 授权公告日 | 2024-03-22 |
| 分类号 | B01D29/00;C12H1/07 |
| 分类 | 生物化学;啤酒;烈性酒;果汁酒;醋;微生物学;酶学;突变或遗传工程; |
| 申请人名称 | 会稽山绍兴酒股份有限公司 |
| 申请人地址 | 浙江省绍兴市柯桥区湖塘街道杨绍路2579号 |
专利法律状态
2024-03-22
授权
状态信息
授权
2023-12-22
实质审查的生效
状态信息
实质审查的生效;IPC(主分类):C12H1/07;申请日:20230904
2023-12-05
公布
状态信息
公布
摘要
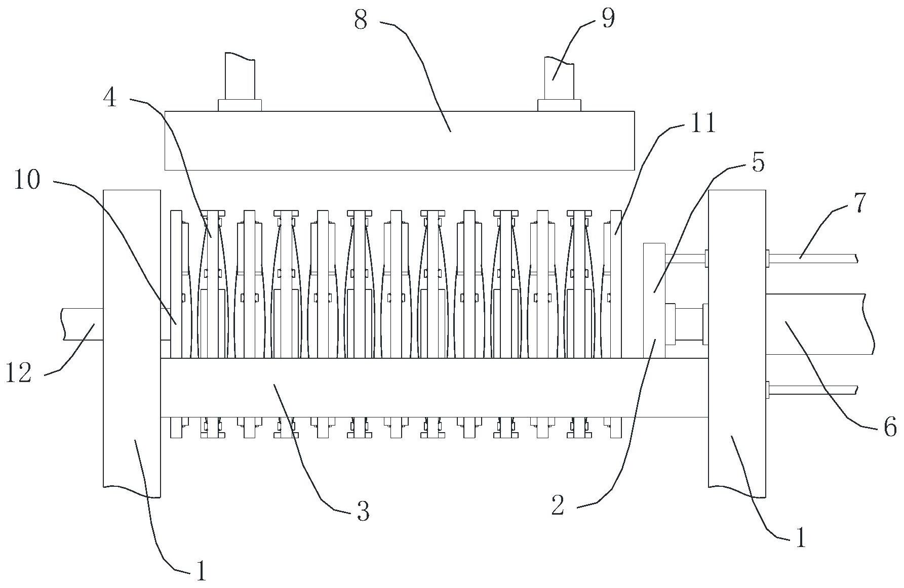
本发明公开一种黄酒压滤装置及压滤工艺,其技术方案要点是:包括两个机架,两个机架之间内形成挤压空间,挤压空间内设置若干压滤板,压滤板相互层叠设置,压滤板之间设置压滤囊;所述加压空间内设置有挤压板,挤压板通过推杆驱动,用于推动各层压滤板相互挤压;所述挤压空间的下侧设置下支撑座,下支撑座用于对压滤板支撑导向。本发明各压滤囊的位置能够产生相互转换,由两个压滤囊的不同位置进行相互挤压,在后续进一步挤压过程中,能够由压滤囊的不同位置挤压,在压滤过程中相互补偿,一定程度上提高压滤的均匀性和有效性。


