授权公布号:CN207590498U
一种电热水壶的出水结构
有效
申请
2017-04-21
申请公布
1970-01-01
授权
2018-07-10
预估到期
2027-04-21
| 申请号 | CN201720431087.7 |
| 申请日 | 2017-04-21 |
| 授权公布号 | CN207590498U |
| 授权公告日 | 2018-07-10 |
| 分类号 | A47J27/21;A47J36/14 |
| 分类 | 家具;家庭用的物品或设备;咖啡磨;香料磨;一般吸尘器; |
| 申请人名称 | 中山市维奥仕电器有限公司 |
| 申请人地址 | 广东省中山市南头镇升辉北工业区 |
专利法律状态
2018-07-10
授权
状态信息
授权
摘要
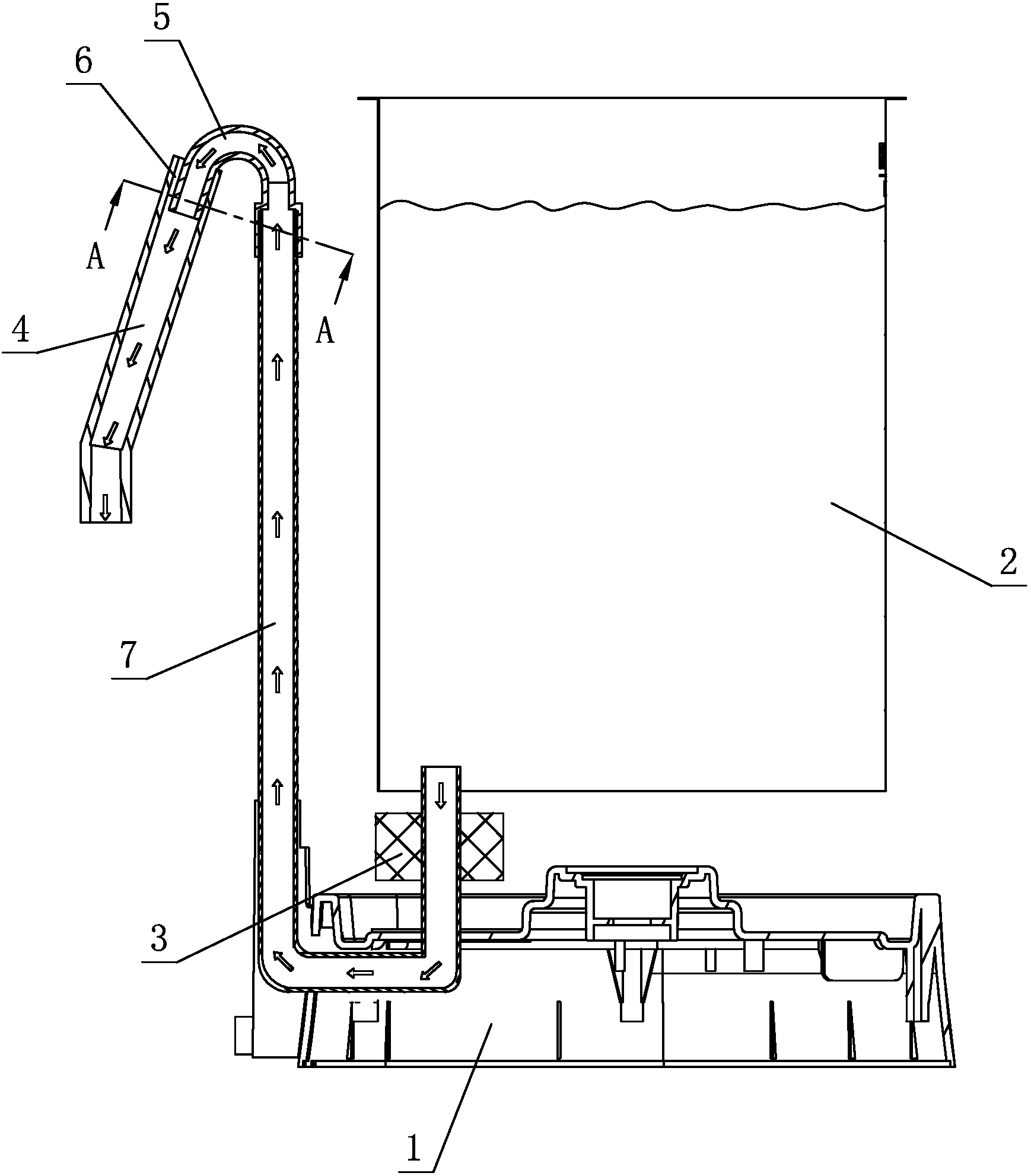
一种电热水壶的出水结构,包括机座、内胆、电泵和出水口,内胆和电泵分别设置在机座上,出水口与内胆连通、且通过电泵从内胆内抽水,出水口与内胆之间设置有弯道,弯道一端与内胆连通,另一端与出水口连通,弯道与出水口的连通处形成通道;或者,出水口与内胆连通、且其上设置有通道。本实用新型通过上述结构的改良,在出水口与管道的连通处设置有供空气进入的通道,或者直接在出水口上设置有供空气进入的通道,当电热水壶出现虹吸现象时,空气可通过通道从外面进入电热水壶内,从而有效地避免电热水壶的虹吸现象,使出水口可以随意加长设计、或者把出水口的高度设计到低于内胆的水位线以下,使出水口不受内胆水位高度的影响,不浪费内胆的容量。


