授权公布号:CN211194220U
一种生态板包边装置
有效
申请
2019-11-06
申请公布
1970-01-01
授权
2020-08-07
预估到期
2029-11-06
| 申请号 | CN201921902660.3 |
| 申请日 | 2019-11-06 |
| 授权公布号 | CN211194220U |
| 授权公告日 | 2020-08-07 |
| 分类号 | B27D5/00;B27G11/00 |
| 分类 | 木材或类似材料的加工或保存;一般钉钉机或钉U形钉机; |
| 申请人名称 | 江西南丰振宇实业集团有限公司 |
| 申请人地址 | 江西省抚州市南丰县工业园区 |
专利法律状态
2020-08-07
授权
状态信息
授权
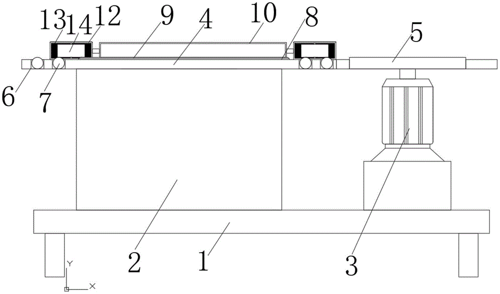
摘要
本实用新型公开了一种生态板包边装置,包括底座,所述底座顶部的左侧固定连接有支撑块,所述底座顶部的右侧通过连接块固定连接有转动电机,所述支撑块的顶部固定连接有工作平板,所述转动电机顶部的输出轴固定连接有转动盘,所述转动盘的外侧转动连接有孔板体。该生态板包边装置操作简单,实用性强,滚筒和钢化玻璃板有利于生态板的移动,胶水槽体和海绵板有利于胶水的保存,海绵板和转动圆柱体有利于胶水的涂覆,加热板有利于延长胶水的冷却硬化时间,转动电机和转动盘有利于生态板的转向,转动盘的磨砂处理防止了生态板的滑落,封边放置槽体有利于封边条的放置,电动伸缩杆实现了封边条的固定。


