授权公布号:CN106275011B
便捷型竹片烘干用推送车
有效
申请
2016-08-26
申请公布
2017-01-04
授权
2018-05-25
预估到期
2036-08-26
| 申请号 | CN201610724690.4 |
| 申请日 | 2016-08-26 |
| 申请公布号 | CN106275011A |
| 申请公布日 | 2017-01-04 |
| 授权公布号 | CN106275011B |
| 授权公告日 | 2018-05-25 |
| 分类号 | B62B3/00 |
| 分类 | 无轨陆用车辆; |
| 申请人名称 | 安徽尧龙竹木制品有限公司 |
| 申请人地址 | 安徽省宣城市广德县新杭镇经济开发区 |
专利法律状态
2018-05-25
授权
状态信息
授权
2017-02-01
实质审查的生效
状态信息
实质审查的生效IPC(主分类):B62B 3/00申请日:20160826
2017-01-04
公布
状态信息
公布
摘要
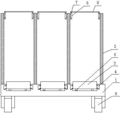
本发明提供一种便捷型竹片烘干用推送车,包括底部车架、移送组件和限位组件,底部车架的顶部设有若干排列设置的导送框,相邻导送框间形成用于竹片移动的通道,底部车架还设有移送组件,移送组件包括移送框,移送框的两侧分别设有限位滚轮,底部车架设有用于对限位滚轮导向的凸字形轨槽,限位组件包括若干限位齿轮、若干限位链条、限位杆;该种便捷型竹片烘干用推送车,能够直接置于烘房中,从而在使用烘房对竹片烘干时,不需要在将成捆的竹片排放在烘房内,也不需要在完成烘干后再将成捆的竹片搬运至推车上,从而节省了搬运过程,实现省时省力的目的。


