授权公布号:CN210454129U
一种UV油墨LED光源固化装置
有效
申请
2019-06-14
申请公布
1970-01-01
授权
2020-05-05
预估到期
2029-06-14
| 申请号 | CN201920901954.8 |
| 申请日 | 2019-06-14 |
| 授权公布号 | CN210454129U |
| 授权公告日 | 2020-05-05 |
| 分类号 | B41F23/04 |
| 分类 | 印刷;排版机;打字机;模印机〔4〕; |
| 申请人名称 | 无锡双龙信息纸有限公司 |
| 申请人地址 | 江苏省无锡市滨湖区马山常康路33号 |
专利法律状态
2020-05-05
授权
状态信息
授权
摘要
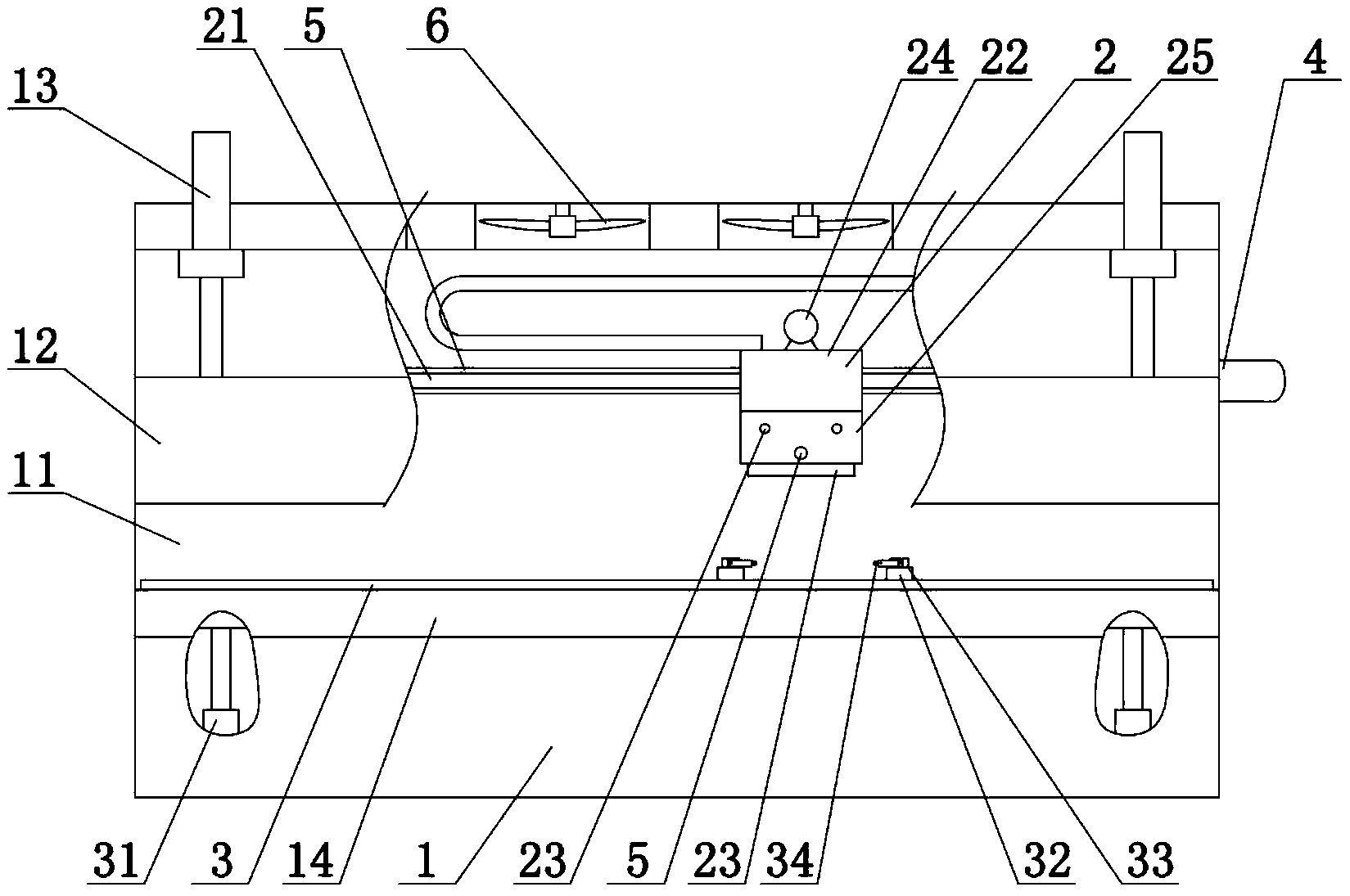
本实用新型涉及一种UV油墨LED光源固化装置,包括固化箱,固化箱内设置LED灯组安装结构和升降平台,LED灯组安装结构包括第一丝杆,第一丝杆与固化箱上的第一驱动电机连接,第一丝杆上设置横移座,横移座下端连接第二丝杆,第二丝杆与横移座上的第二驱动电机连接,第二丝杆上套设置纵移座,纵移座下端连接LED灯组,升降平台下端连接升降驱动部件,升降平台上至少设置两根横移杆,横移杆上至少设置两个纵移块,纵移块连接固定夹,固化箱上设置进料开口,进料开口上设置开合的封闭门,固化箱上端连接散热风扇,所述UV油墨LED光源固化装置,以满足不同位置的UV油墨固化操作,且只需采用较小功率的LED灯组,另外可固定不同尺寸印刷物,应用广泛。


