授权公布号:CN210233288U
一种PRID票据检测模切分料机构
有效
申请
2019-06-14
申请公布
1970-01-01
授权
2020-04-03
预估到期
2029-06-14
| 申请号 | CN201920902820.8 |
| 申请日 | 2019-06-14 |
| 授权公布号 | CN210233288U |
| 授权公告日 | 2020-04-03 |
| 分类号 | B26F1/38 |
| 分类 | 手动切割工具;切割;切断; |
| 申请人名称 | 无锡双龙信息纸有限公司 |
| 申请人地址 | 江苏省无锡市滨湖区马山常康路33号 |
专利法律状态
2020-04-03
授权
状态信息
授权
摘要
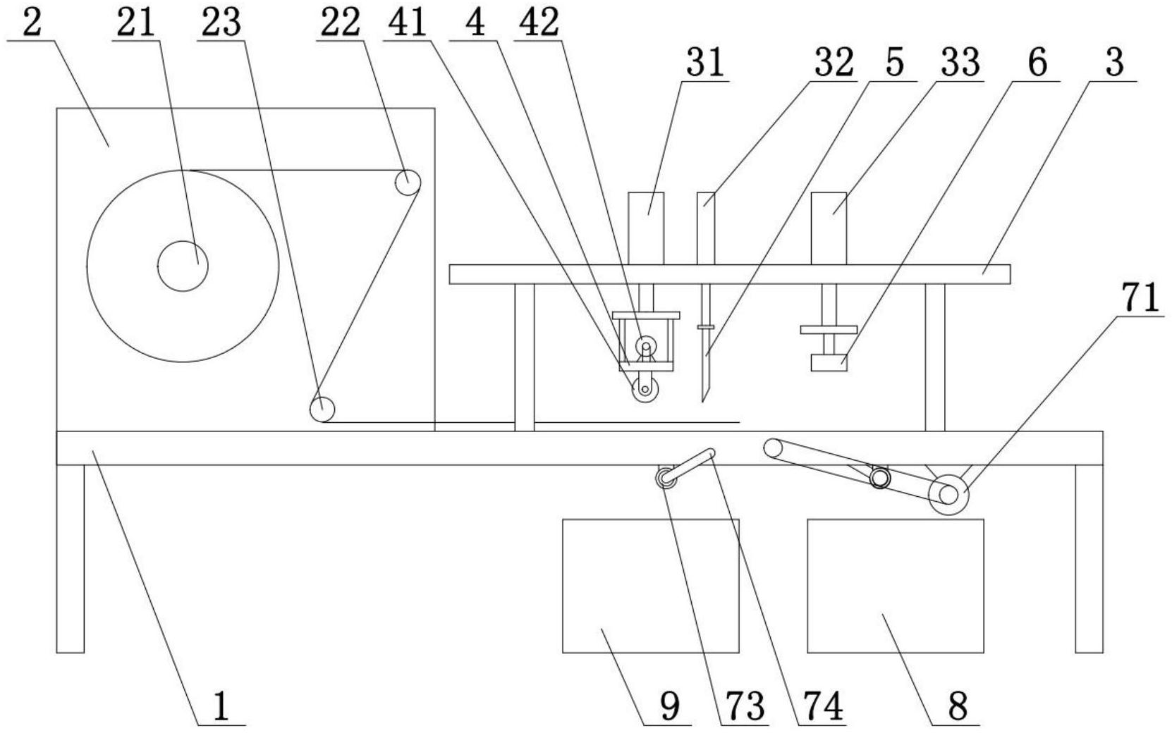
本实用新型涉及一种PRID票据检测模切分料机构,包括设置安装侧板和安装支架的操作台,安装侧板上安装放线辊和导辊,安装支架上连接第一、第二、第三升降驱动部件,第一升降驱动部件下端连接升降架,升降架下端连接票据压轮,票据压轮与升降架上的压轮转动电机连接,第二升降驱动部件下端连接模切刀,第三升降驱动部件下端连接票据压块,操作台位于模切刀和票据压块下端的位置上转动连接分料转板,分料转板内安装解读器,分料转板连接驱动其转动的转板转动电机,且分料转板配合模切刀开设切料通槽,操作台位于分料转板下端两侧分别设置合格品收集框和废品收集框,所述PRID票据检测模切分料机构,自动进行分切,并将PRID票据按可读和不可读进行分料。


