授权公布号:CN218140735U
一种用于实物印章管控设备的侧门装置
有效
申请
2022-07-26
申请公布
1970-01-01
授权
2022-12-27
预估到期
2032-07-26
| 申请号 | CN202221950685.2 |
| 申请日 | 2022-07-26 |
| 授权公布号 | CN218140735U |
| 授权公告日 | 2022-12-27 |
| 分类号 | B41K3/00;B41K3/62 |
| 分类 | 印刷;排版机;打字机;模印机〔4〕; |
| 申请人名称 | 深圳市银之杰科技股份有限公司 |
| 申请人地址 | 广东省深圳市福田区沙头街道天安社区泰然五路天安数码城天祥大厦10A-1 |
专利法律状态
2022-12-27
授权
状态信息
授权
摘要
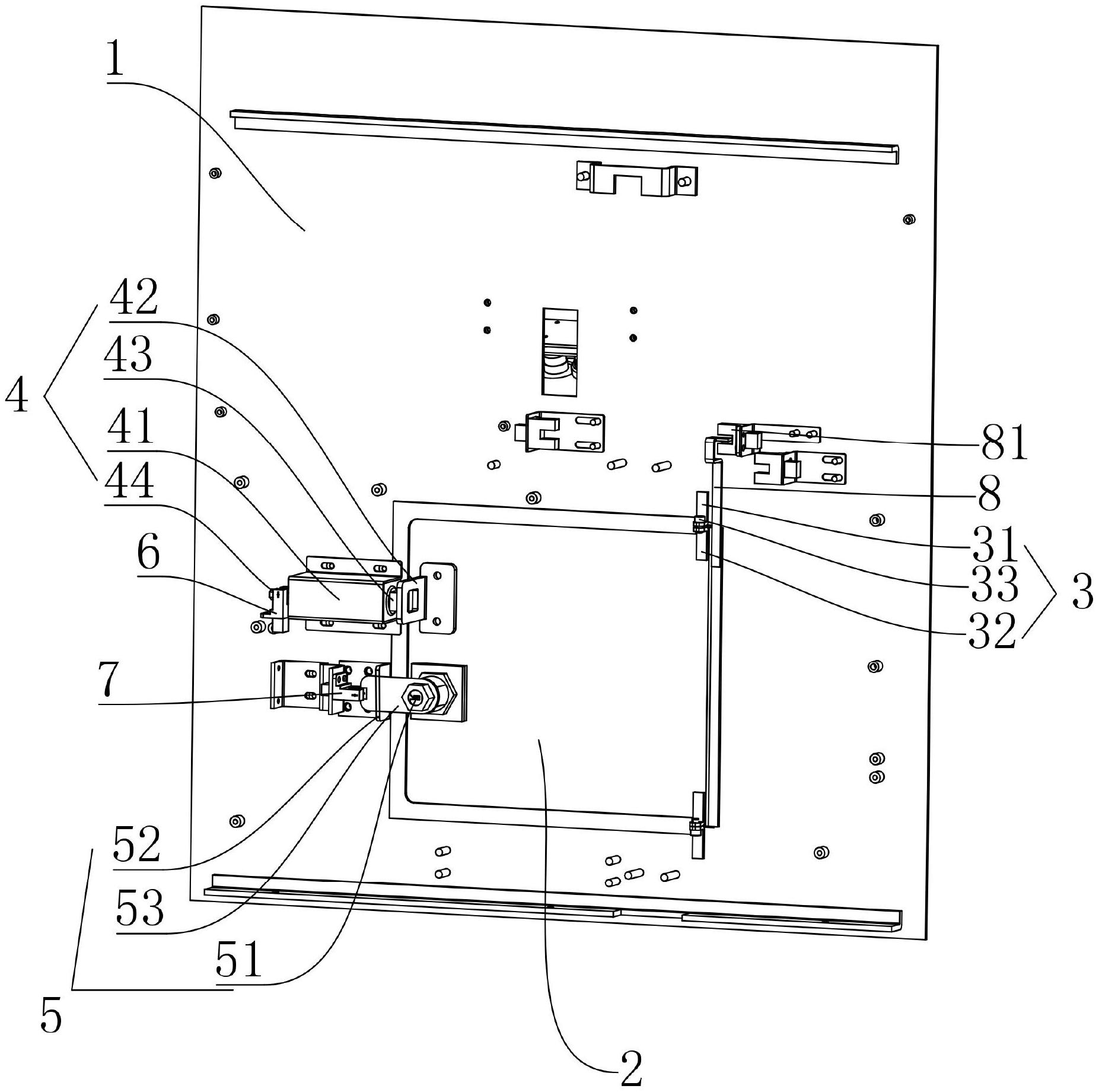
本实用新型涉及印控机技术领域,涉及一种用于实物印章管控设备的侧门装置,包括控制装置、安装于管控设备上的侧板,侧板上设置有侧门,还包括门轴结构、第一锁合部、第二锁合部、第一传感器、第二传感器,侧门的一侧通过门轴结构安装于侧板上,侧门的另一侧通过第一锁合部、第二锁合部锁合于侧板上,第一锁合部处设置有第一传感器,第二锁合部处设置有第二传感器,第一传感器、第二传感器分别与控制装置连接以发送对第一锁合部、第二锁合部的监测信息,本实用新型的第一传感器、第二传感器用于监控第一锁合部、第二锁合部的开合情况并发送监控信息至控制装置,这样印章所有人能随时监控管控设备的侧门开合情况。


