授权公布号:CN203812019U
一种带导盲的家居智能控制器
有效
申请
2014-04-28
申请公布
1970-01-01
授权
2014-09-03
预估到期
2024-04-28
| 申请号 | CN201420210906.1 |
| 申请日 | 2014-04-28 |
| 授权公布号 | CN203812019U |
| 授权公告日 | 2014-09-03 |
| 分类号 | G05B19/04 |
| 分类 | 控制;调节; |
| 申请人名称 | 厦门纳网科技股份有限公司 |
| 申请人地址 | 福建省厦门市软件园望海路45号201 |
专利法律状态
2017-03-08
专利权人的姓名或者名称、地址的变更
状态信息
专利权人的姓名或者名称、地址的变更;IPC(主分类):G05B19/04;变更事项:专利权人;变更前:厦门纳网科技有限公司;变更后:厦门纳网科技股份有限公司;变更事项:地址;变更前:361000 福建省厦门市软件园望海路45号201;变更后:361000 福建省厦门市软件园望海路45号201
2014-09-03
授权
状态信息
授权
摘要
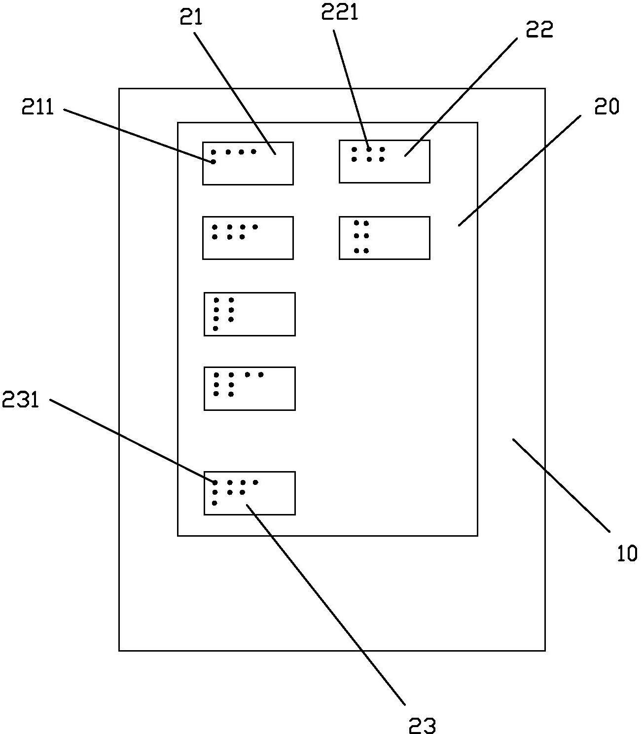
本实用新型公开了一种带导盲的家居智能控制器,包括壳体、盲文控制面板和振动器,在盲文控制面板上设有功能键和调节键,所述功能键和调节键的表面分别设有盲文结构;壳体中装有电路装置;所述电路装置包括CPU中央处理器单元、语音单元、按键触发单元、传输单元、电源单元和振动驱动单元,电源单元与CPU中央处理器单元相连接,按键触发单元的输出接至CPU中央处理器单元,CPU中央处理器单元的输出分别接至语音单元、振动驱动单元的输入,传输单元与CPU中央处理器单元相连接。本实用新型使得盲人不需摸索碰触家用电器实体,便能方便快捷地控制智能家居电器,从而实现家庭成员特别是盲人对家居电器的智能管理。


