授权公布号:CN220672567U
芯片组件,散热器和电子设备
有效
申请
2023-06-29
申请公布
1970-01-01
授权
2024-03-26
预估到期
2033-06-29
| 申请号 | CN202321685388.4 |
| 申请日 | 2023-06-29 |
| 授权公布号 | CN220672567U |
| 授权公告日 | 2024-03-26 |
| 分类号 | H01L23/367;H01L23/40;H01L23/473;H01L23/31 |
| 分类 | 基本电气元件; |
| 申请人名称 | 华为技术有限公司 |
| 申请人地址 | 广东省深圳市龙岗区坂田华为总部办公楼 |
专利法律状态
2024-03-26
授权
状态信息
授权
摘要
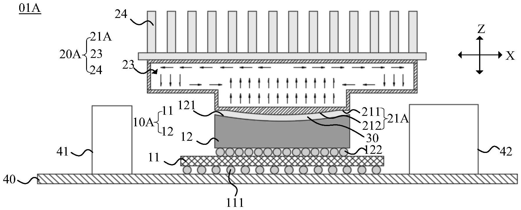
本申请提供了一种芯片组件,散热器和电子设备。芯片组件包括:芯片,芯片包括芯片基板以及设于芯片基板之上的多个裸片die;散热器,散热器设于芯片之上,散热器包括面向芯片设置的热传导表面,热传导表面包括多个曲面,多个曲面一一对应地覆盖在多个die之上;其中,各曲面被设置为,与处于发热状态的相对应die的顶面至少部分地相互吻合。本申请中,当芯片处于工作状态时,热传导表面与die之间具有较小的间距,从而可以缩短die与热传导表面之间的热传导路径,以提高芯片组件的散热性能。


