授权公布号:CN217100536U
一种瓶装自动压菜设备
有效
申请
2022-01-25
申请公布
1970-01-01
授权
2022-08-02
预估到期
2032-01-25
| 申请号 | CN202220209754.8 |
| 申请日 | 2022-01-25 |
| 授权公布号 | CN217100536U |
| 授权公告日 | 2022-08-02 |
| 分类号 | B65B1/24;B65B43/54 |
| 分类 | 输送;包装;贮存;搬运薄的或细丝状材料; |
| 申请人名称 | 吉香居食品股份有限公司 |
| 申请人地址 | 四川省眉山市东坡区太和镇经济开发区 |
专利法律状态
2022-08-02
授权
状态信息
授权
摘要
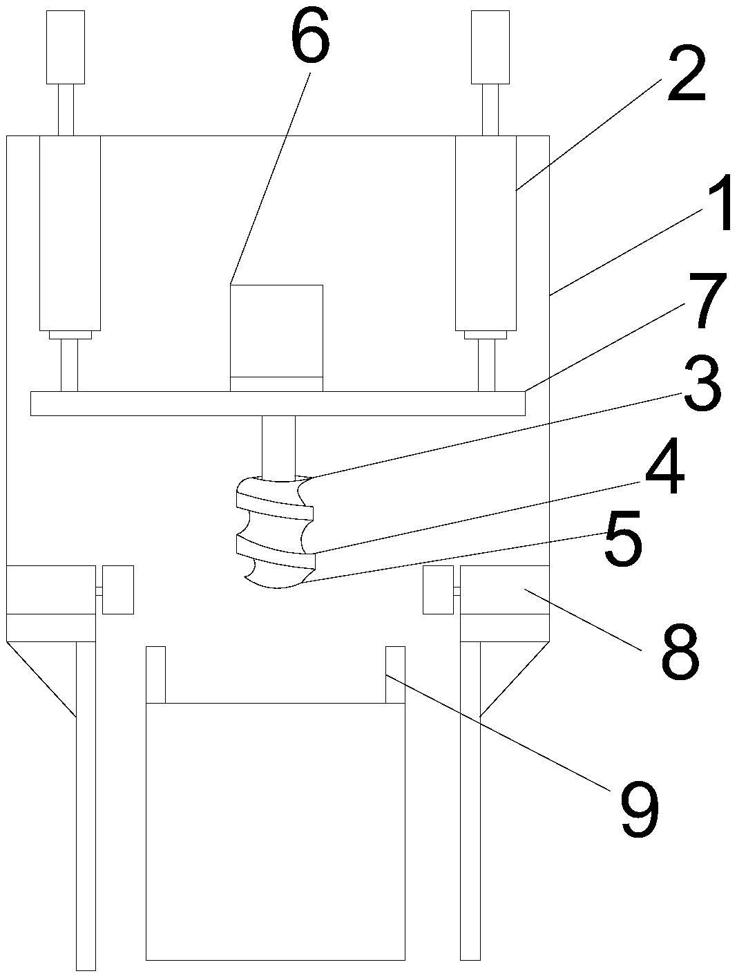
本实用新型涉及食品罐装技术领域,具体涉及一种瓶装自动压菜设备,用于泡菜罐装,包括机架,所述机架上部设置有升降装置,所述升降装置连接有螺旋压菜头,所述螺旋压菜头上设置有螺纹刮刀,所述螺纹刮刀从所述螺旋压菜头上部延伸到所述压菜头下部,所述螺旋压菜头底部为凸弧底,所述螺旋压菜头上部连接有用于旋转所述螺旋压菜头的驱动装置。通过设置螺纹刮刀,能够方便的对挂壁菜进行处理,提高压菜效率。通过设置凸弧底,能够将面层菜向四周挤压,留出顶油的空间,使顶油能够正常的隔绝空气。


