授权公布号:CN217578897U
酸菜鱼调味料用酸菜发酵制作系统
有效
申请
2022-04-22
申请公布
1970-01-01
授权
2022-10-14
预估到期
2032-04-22
| 申请号 | CN202220947116.6 |
| 申请日 | 2022-04-22 |
| 授权公布号 | CN217578897U |
| 授权公告日 | 2022-10-14 |
| 分类号 | C12M1/34;C12M1/00;A23L19/20 |
| 分类 | 生物化学;啤酒;烈性酒;果汁酒;醋;微生物学;酶学;突变或遗传工程; |
| 申请人名称 | 金菜地食品股份有限公司 |
| 申请人地址 | 安徽省马鞍山市当涂经济开发区隆昌南路9号 |
专利法律状态
2022-10-14
授权
状态信息
授权
摘要
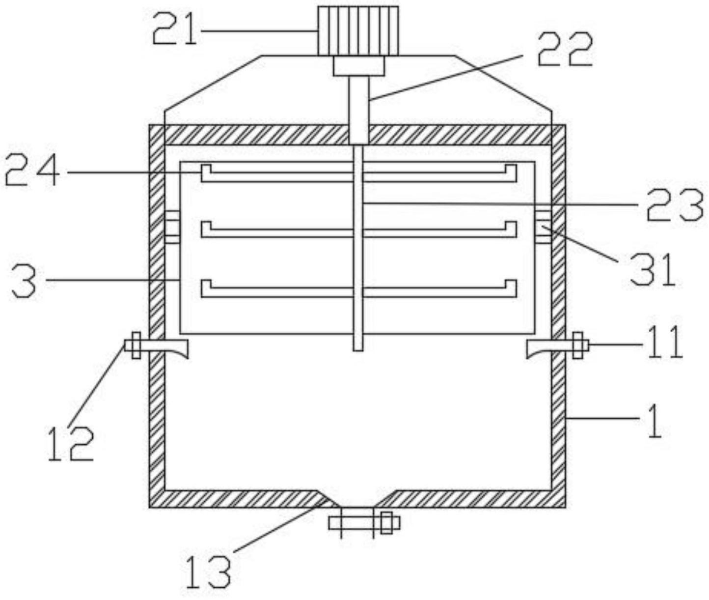
本实用新型公开了一种酸菜鱼调味料用酸菜发酵制作系统,属于食品加工技术领域,包括呈方体结构的罐体,所述罐体顶部连接有盖体,所述盖体上设置有驱动电机,所述驱动电机的输出端上连接有用于放置酸菜的固定机构,所述固定机构贯穿罐体顶部延伸至罐体内,且罐体内设置有与固定机构相配合的一组压板,一组所述压板对称设置在固定机构两侧,所述罐体侧边配设有用于输送酸菜的密封门,且侧壁上开设有进水口和进料口,所述进水口和进料口上分别安装有连接罐体内外部的进水管道和进料管道,罐体底部开设有出液口。本实用新型结构设计合理,操作简便,通过在罐体内设置多种辅助机构实现酸菜发酵过程的稳定性,适用于大批量自动化生产。


