授权公布号:CN209451323U
一种泡菜盐水MVR蒸发结晶系统
有效
申请
2018-12-20
申请公布
1970-01-01
授权
2019-10-01
预估到期
2028-12-20
| 申请号 | CN201822145301.X |
| 申请日 | 2018-12-20 |
| 授权公布号 | CN209451323U |
| 授权公告日 | 2019-10-01 |
| 分类号 | B01D1/00;B01D9/02 |
| 分类 | 一般的物理或化学的方法或装置; |
| 申请人名称 | 四川省川南酿造有限公司 |
| 申请人地址 | 四川省眉山市经济开发区东区 |
专利法律状态
2019-10-01
授权
状态信息
授权
摘要
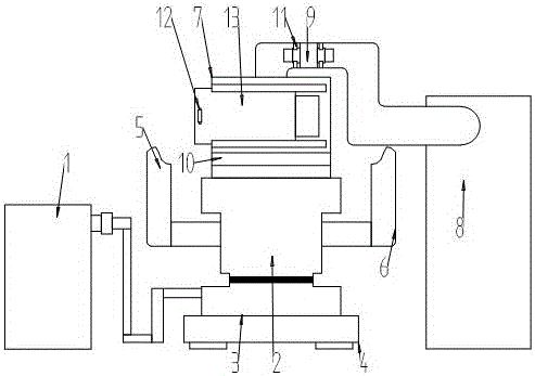
本实用新型公开了一种泡菜盐水MVR蒸发结晶系统,包括MVR蒸发器、结晶箱、加热箱、底座、进料管道、出料管道、导热片以及收集箱;所述结晶箱与加热箱均位于底座上,MVR蒸发器与加热箱内部进行连通,所述结晶箱位于导热片上,所述进料管道与出料管道分别与结晶箱进行连通,所述收集箱位于结晶箱上,且与其内部连通;所述收集箱内部设有冷却结构;所述冷却结构,其包括:制冷装置、进气管以及风机;所述制冷装置通过进气管与收集箱进行连通,所述风机嵌装在进气管内,本实用新型涉及MVR蒸发结晶技术领域。提供了一种利用MVR系统提供热量的蒸发结晶设备,从而减少能源消耗,节约能源。


