授权公布号:CN106362887B
自动撒盐机
有效
申请
2016-08-31
申请公布
2017-02-01
授权
2018-10-19
预估到期
2036-08-31
| 申请号 | CN201610786774.0 |
| 申请日 | 2016-08-31 |
| 申请公布号 | CN106362887A |
| 申请公布日 | 2017-02-01 |
| 授权公布号 | CN106362887B |
| 授权公告日 | 2018-10-19 |
| 分类号 | B05B7/14;B05B15/00;A23L19/20 |
| 分类 | 一般喷射或雾化;对表面涂覆液体或其他流体的一般方法〔2〕; |
| 申请人名称 | 重庆市涪陵榨菜集团股份有限公司 |
| 申请人地址 | 重庆市涪陵区江北街道办事处二渡村一组 |
专利法律状态
2018-10-19
授权
状态信息
授权
2017-03-01
实质审查的生效
状态信息
实质审查的生效IPC(主分类):B05B 7/14申请日:20160831
2017-02-01
公布
状态信息
公开
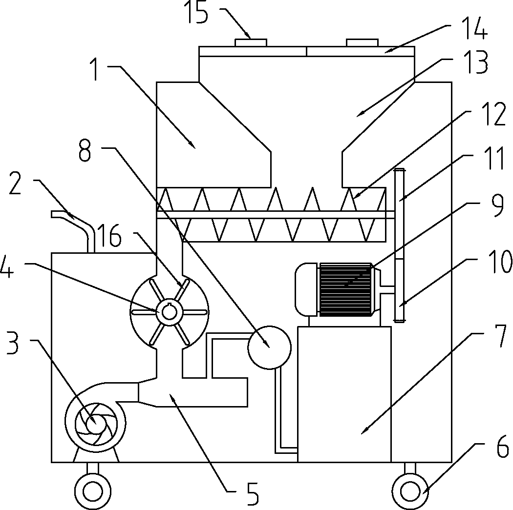
摘要
本专利公开了一种自动撒盐机,包括机架、料斗、螺旋进料器和空气与料混合仓,料斗设在机架上,料斗与螺旋进料器连通,螺旋进料器与空气与料混合仓连通,空气与料混合仓连通有风机,螺旋进料器与空气与料混合仓之间连接管道内设有转盘,转盘周向上均布有若干挡板,挡板远离转盘一端与管道壁滑动连接;还包括设置在机架上的储水箱,储水箱连有水泵,水泵与空气与料混合仓相连通;与现有技术相比,本专利转盘和挡板的设置,可防止风机制造出的风倒灌入螺旋进料器内,可防止盐料从料斗内吹洒出来;使用风机将落至空气与料混合仓内的盐料喷出,并使用水泵对盐料进行加水,防止了对周边环境造成污染,防止了对操作人员造成伤害,并可减少盐料的浪费。


