授权公布号:CN215421709U
一种芽菜切割装置
有效
申请
2021-08-30
申请公布
1970-01-01
授权
2022-01-07
预估到期
2031-08-30
| 申请号 | CN202122060849.6 |
| 申请日 | 2021-08-30 |
| 授权公布号 | CN215421709U |
| 授权公告日 | 2022-01-07 |
| 分类号 | A01D45/00 |
| 分类 | 农业;林业;畜牧业;狩猎;诱捕;捕鱼; |
| 申请人名称 | 四川宜宾碎米芽菜有限公司 |
| 申请人地址 | 四川省宜宾市翠屏区金坪镇民强村菜子社 |
专利法律状态
2022-01-07
授权
状态信息
授权
摘要
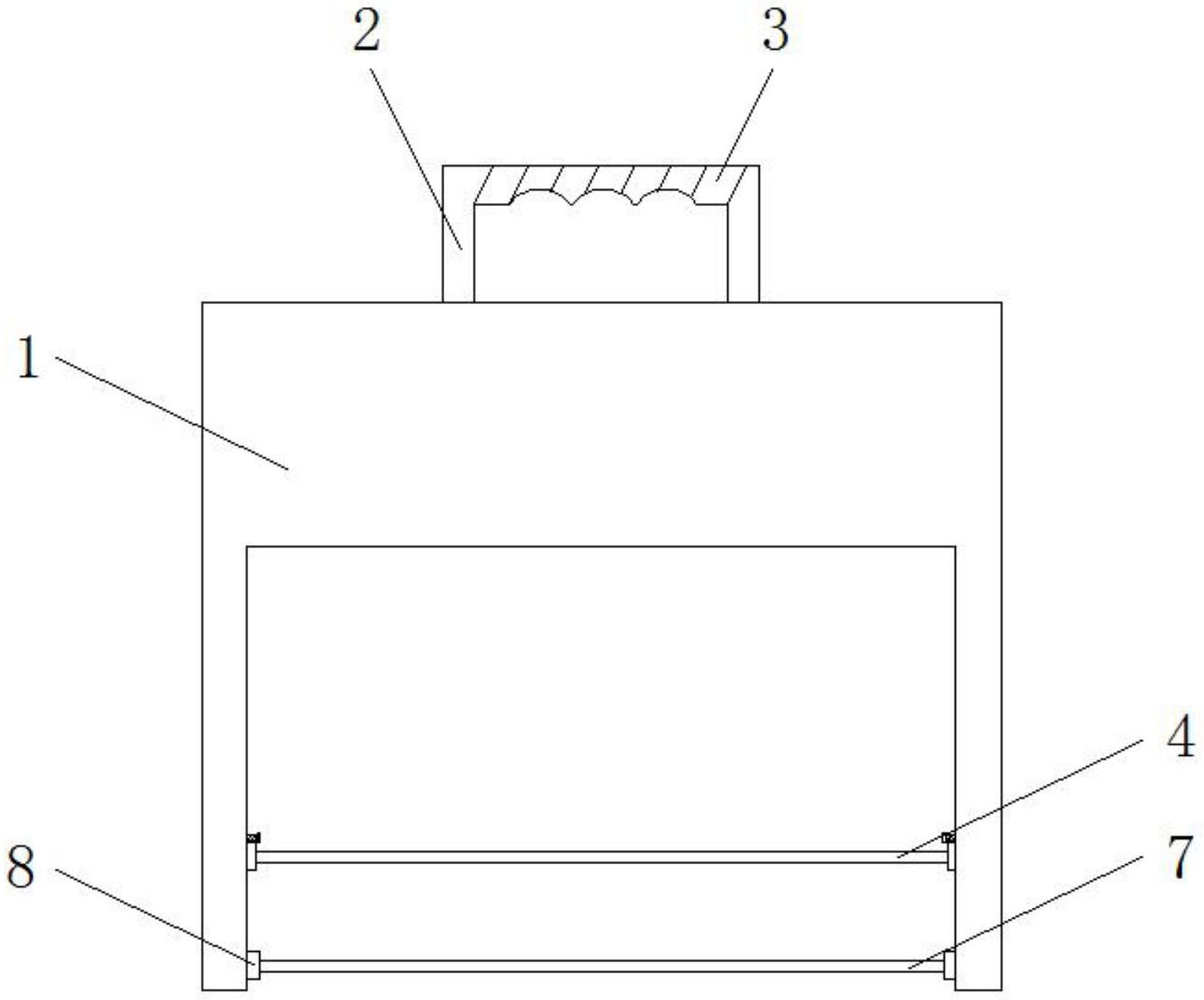
本实用新型公开了一种芽菜切割装置,外固定框架、第一金属丝网和第二金属丝网,所述外固定框架上方设有手柄,且手柄外侧设有防滑垫,所述第一金属丝网设置在外固定框架内部,且第一金属丝网两侧设有调节机构,同时外固定框架两侧内部开设有滑槽,所述第二金属丝网设置在第一金属丝网下方,且第二金属丝网通过固定件与外固定框架固定连接。该芽菜切割装置,设置有防滑垫和调节机构,防滑垫设置在手柄上,便于切割装置更好的切割芽菜,调节机构便于调节第一金属丝网高度,便于根据需求调节芽菜切割高度,这种调节方式较为简单,便于使用。


