授权公布号:CN215403027U
一种防漏油的计量机灌装头
有效
申请
2021-09-01
申请公布
1970-01-01
授权
2022-01-04
预估到期
2031-09-01
| 申请号 | CN202122094354.5 |
| 申请日 | 2021-09-01 |
| 授权公布号 | CN215403027U |
| 授权公告日 | 2022-01-04 |
| 分类号 | B67C3/24;B67C3/26;B67C3/22 |
| 分类 | 开启或封闭瓶子、罐或类似的容器;液体的贮运; |
| 申请人名称 | 四川宜宾碎米芽菜有限公司 |
| 申请人地址 | 四川省宜宾市翠屏区金坪镇民强村菜子社 |
专利法律状态
2022-01-04
授权
状态信息
授权
摘要
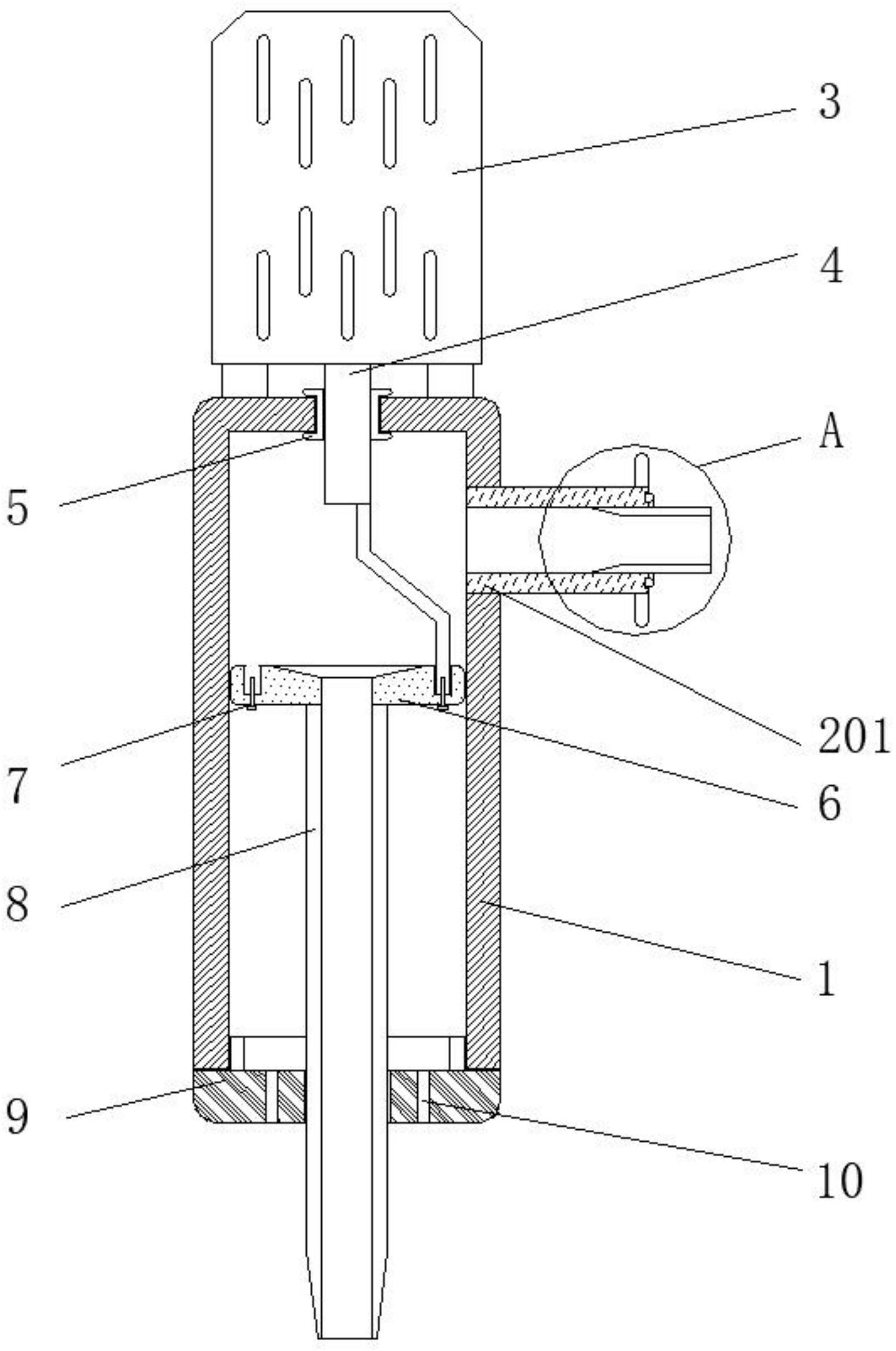
本实用新型公开了一种防漏油的计量机灌装头,包括防漏机构和液压缸,所述防漏机构包括进油管道、限位环、第一密封圈、连接管道,且进油管道固定在套筒的一侧,同时进油管道一端的外侧固定有限位环,所述液压缸固定在套筒的顶部,且液压缸的底部设置有活塞杆,同时活塞杆贯穿套筒顶部与橡胶圈相连接,所述橡胶圈上固定有出油管道,且出油管道贯穿底盖,同时底盖螺纹连接在套筒的底部。该防漏油的计量机灌装头,第二密封圈可加强活塞杆与套筒之间的连接,方便提高该装置的密封性,油先后经过连接管道和进油管道进入到套筒内之后可通过出油管道流出,第一密封圈可加强红油出口管与进油管道之间的连接,可避免出现漏油的现象。


