授权公布号:CN211120474U
一种具有清理结构的烘干机
有效
申请
2019-12-31
申请公布
1970-01-01
授权
2020-07-28
预估到期
2029-12-31
| 申请号 | CN201922469661.X |
| 申请日 | 2019-12-31 |
| 授权公布号 | CN211120474U |
| 授权公告日 | 2020-07-28 |
| 分类号 | F26B11/16 |
| 分类 | 干燥; |
| 申请人名称 | 四川宜宾碎米芽菜有限公司 |
| 申请人地址 | 四川省宜宾市翠屏区金坪镇民强村菜子社 |
专利法律状态
2020-07-28
授权
状态信息
授权
摘要
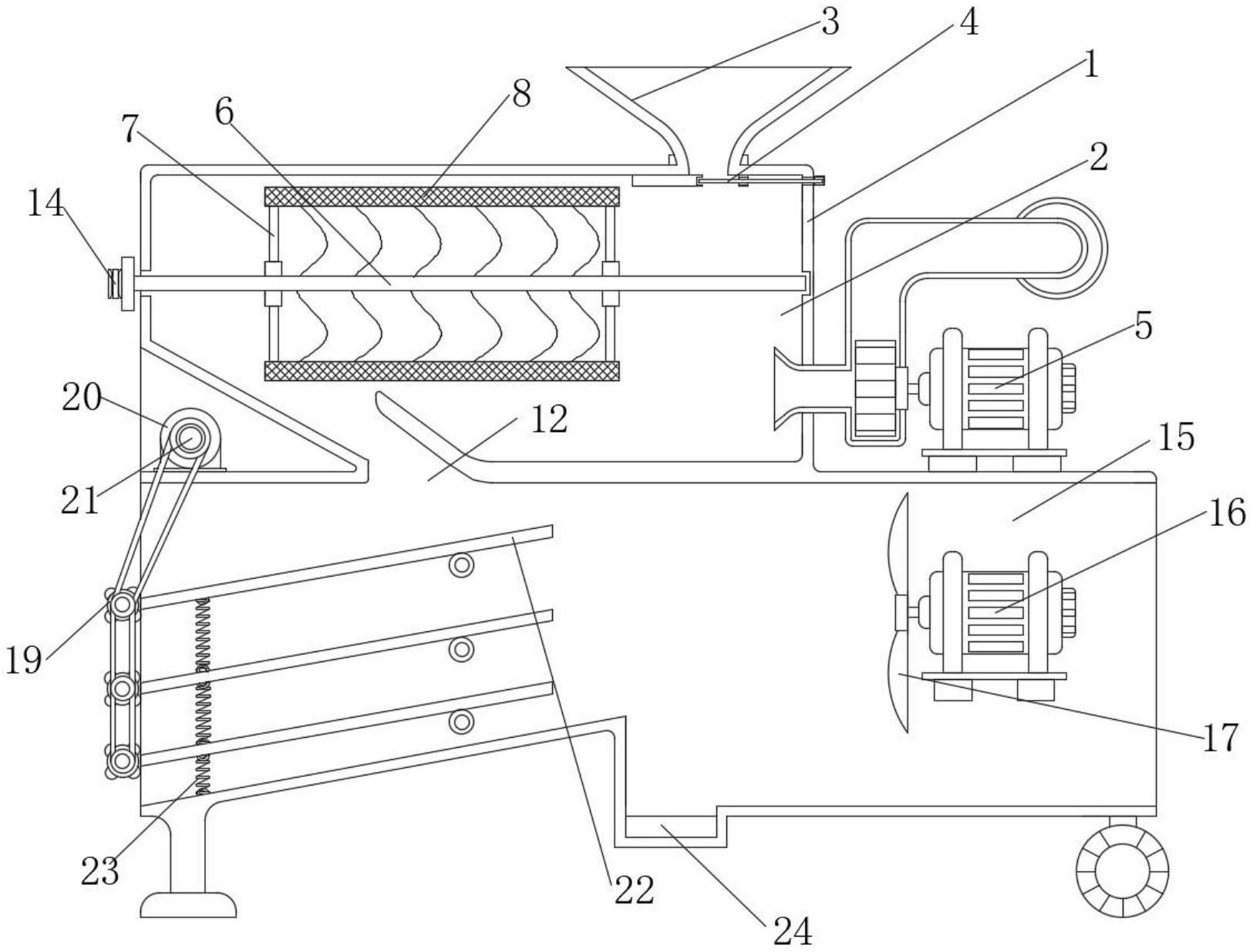
本实用新型公开了一种具有清理结构的烘干机,包括主箱体、烘干机、第一电机、第二电机、第三电机和开关按钮,所述主箱体的内部上方开设有烘干仓,且烘干仓的右侧顶端固定安装有加料口,所述加料口的下方插设安装有阀板,所述烘干仓的右侧固定安装有烘干机,所述烘干仓的两边内侧中间安装有转轴,且转轴的外侧对称固定安装有支架,所述支架的顶端焊接有过滤板。本实用新型设置第一电机通过第一皮带轮传动机构带动转轴转动,使得过滤板转动,配合过滤板之间安装的布条,对进入该装置的粮食进行阻碍,延长粮食在烘干仓内部存留的时间,防止粮食快速通过下料口掉落筛分仓内部,有效的提高该装置对粮食的烘干效果。


