授权公布号:CN213323827U
一种酱料灌装系统
有效
申请
2020-09-28
申请公布
1970-01-01
授权
2021-06-01
预估到期
2030-09-28
| 申请号 | CN202022171729.9 |
| 申请日 | 2020-09-28 |
| 授权公布号 | CN213323827U |
| 授权公告日 | 2021-06-01 |
| 分类号 | B65B3/04;B65B3/26 |
| 分类 | 输送;包装;贮存;搬运薄的或细丝状材料; |
| 申请人名称 | 鹤山市东古调味食品有限公司 |
| 申请人地址 | 广东省江门市鹤山市古劳镇麦水工业区3号 |
专利法律状态
2021-06-01
授权
状态信息
授权
摘要
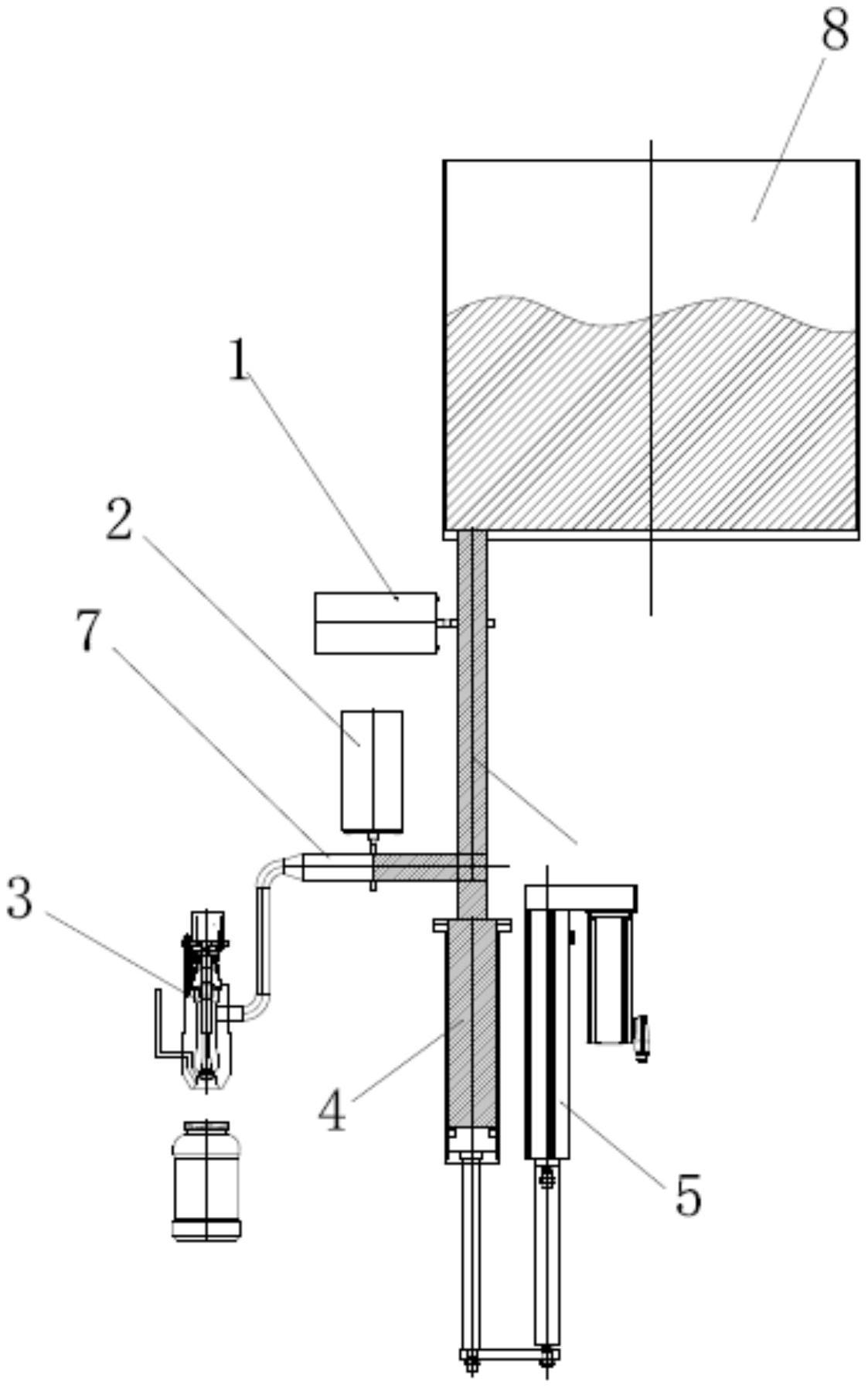
本实用新型涉及一种酱料灌装系统,包括第一气动阀,第二气动阀,灌装阀,量筒和伺服电缸,所述第一气动阀设置在物料通道中,物料通道一端与量筒连通,另一端进料,所述伺服电缸与量筒连接,所述灌装阀与量筒之间通过送料通道连通,第二气动阀设置在送料通道中,灌装阀包括负压通道和阀嘴,负压通道与阀嘴连通。本实用新型的一种酱料灌装系统通过伺服电缸精确定量控制酱料灌装,电子定量精确,机械结构简易,灌装阀腔体卫生无死角,易于清洗,负压通道实现阀嘴无残留料液。


