授权公布号:CN219191374U
一种调味品压榨笼生产装置
有效
申请
2022-11-29
申请公布
1970-01-01
授权
2023-06-16
预估到期
2032-11-29
| 申请号 | CN202223171946.3 |
| 申请日 | 2022-11-29 |
| 授权公布号 | CN219191374U |
| 授权公告日 | 2023-06-16 |
| 分类号 | B30B9/04;B30B15/30;B30B15/32 |
| 分类 | 压力机; |
| 申请人名称 | 鹤山市东古调味食品有限公司 |
| 申请人地址 | 广东省江门市鹤山市古劳镇麦水工业区3号 |
专利法律状态
2023-06-16
授权
状态信息
授权
摘要
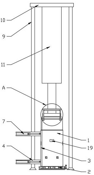
本实用新型涉及调味品生产技术领域,具体涉及一种调味品压榨笼生产装置,包括压榨笼本体以及设置在压榨笼本体下方的气垫车,还包括支架组件、固定安装在支架组件顶端上的压榨组件、固定安装在压榨笼本体一侧上的挡板组件、滑动套设在压榨组件下部上的提笼组件以及对称固定安装在压榨笼本体顶部两侧上的条形板,可实现压榨设备上同时具有压榨和提笼的功能,减少了压榨中的脱笼工位,减少了占地面积,简化了压榨的生产线,将封闭式压榨笼设置为开闭式压榨笼使得压榨笼无需移动即可完成物料的推进和推出,简化操作,不受物料与压榨笼上的导流槽之间的阻力大小,使得脱笼更加容易,危险性小,且压榨笼的开闭可实现自动,减少了人工操作。


