授权公布号:CN219191375U
一种调味品压榨装置
有效
申请
2022-11-29
申请公布
1970-01-01
授权
2023-06-16
预估到期
2032-11-29
| 申请号 | CN202223173155.4 |
| 申请日 | 2022-11-29 |
| 授权公布号 | CN219191375U |
| 授权公告日 | 2023-06-16 |
| 分类号 | B30B9/04;B30B15/30;B30B15/32 |
| 分类 | 压力机; |
| 申请人名称 | 鹤山市东古调味食品有限公司 |
| 申请人地址 | 广东省江门市鹤山市古劳镇麦水工业区3号 |
专利法律状态
2023-06-16
授权
状态信息
授权
摘要
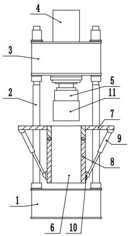
本实用新型涉及调味品生产设备领域,具体涉及一种调味品压榨装置,其技术方案是:包括底座与压榨笼,底座顶部四个拐角处均竖直设置有支柱,四个支柱顶端竖直有安装座,安装座上设置有压榨组件,所述压榨笼通过固定组件固定安装在四个支柱表面,所述压榨笼左右两端转动连接有挡板,所述固定组件上还设置有用于控制挡板转动开合的提笼组件,本实用新型的有益效果是:无需再移动压榨笼即可完成脱笼状态,简化压榨生产线;更容易将物料垛推入推出压榨笼中,优化压榨操作;保证压榨功能的同时能够对压榨笼进行提笼,提笼的高度较小即可完成脱笼,降低了提笼组件所需驱动装置的性能要求;节约了为脱笼专门配有的电动葫芦、行车的成本。


