授权公布号:CN219135374U
一种用于容器瓶的输送装置
有效
申请
2022-09-27
申请公布
1970-01-01
授权
2023-06-06
预估到期
2032-09-27
| 申请号 | CN202222564035.0 |
| 申请日 | 2022-09-27 |
| 授权公布号 | CN219135374U |
| 授权公告日 | 2023-06-06 |
| 分类号 | B65G15/58;B65G47/24;B67C3/24 |
| 分类 | 输送;包装;贮存;搬运薄的或细丝状材料; |
| 申请人名称 | 上海鼎丰酿造食品有限公司 |
| 申请人地址 | 上海市奉贤区庄行镇杨溇路388号 |
专利法律状态
2023-06-06
授权
状态信息
授权
摘要
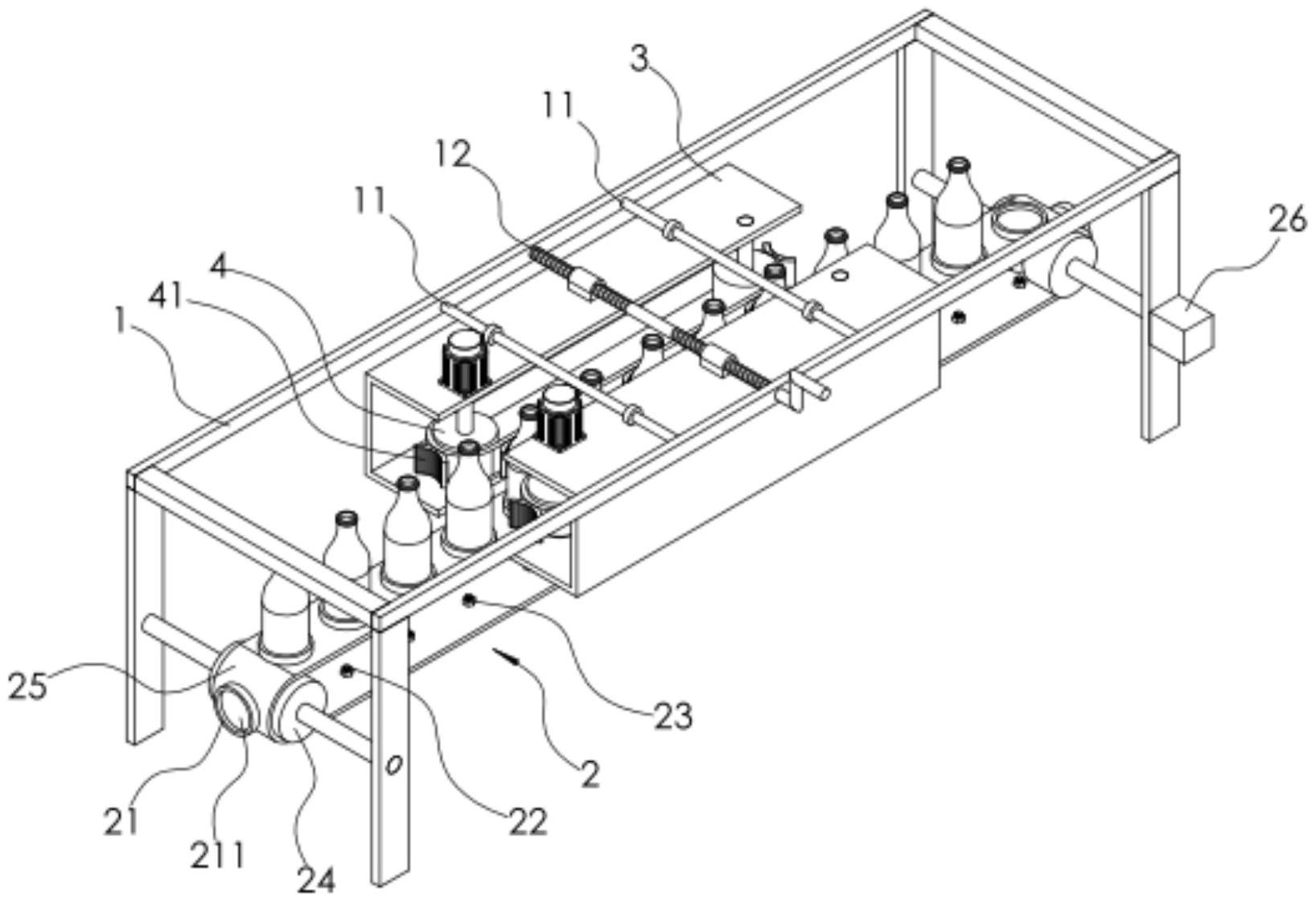
本申请涉及输送设备的技术领域,尤其是涉及一种用于容器瓶的输送装置,其包括机架,机架上安装有呈水平设置的第一传送带和两个分设于第一传送带左右两侧的安装架,第一传送带的外侧安装有若干呈环形排布的限位盘,限位盘远离于第一传送带的一侧设有供容器瓶底部嵌设的容纳槽;安装架上安装有与第一传送带输送方向相同的第二传送带,两个第二传送带上均安装有若干呈环形排布的夹板,第二传送带上每两个相邻夹板之间的间距等于每两个相邻限位盘之间的间距,每两个分设于第一传送带左右两侧并相对应的夹板用于共同夹持竖直放置在容纳槽内的容器瓶。本申请能够提高容器瓶的稳定性和位置精确度。


