授权公布号:CN210063536U
水平式连续灌装机封口设备
有效
申请
2019-03-20
申请公布
1970-01-01
授权
2020-02-14
预估到期
2029-03-20
| 申请号 | CN201920361436.1 |
| 申请日 | 2019-03-20 |
| 授权公布号 | CN210063536U |
| 授权公告日 | 2020-02-14 |
| 分类号 | B65B51/04 |
| 分类 | 输送;包装;贮存;搬运薄的或细丝状材料; |
| 申请人名称 | 上海鼎丰酿造食品有限公司 |
| 申请人地址 | 上海市奉贤区南桥镇新建中路496号 |
专利法律状态
2020-10-02
专利权人的姓名或者名称、地址的变更
状态信息
专利权人的姓名或者名称、地址的变更;IPC(主分类):B65B51/04;变更事项:专利权人;变更前:上海鼎丰酿造食品有限公司;变更后:上海鼎丰酿造食品有限公司;变更事项:地址;变更前:201408 上海市奉贤区南桥镇新建中路496号;变更后:201415 上海市奉贤区庄行镇杨溇路388号
2020-02-14
授权
状态信息
授权
摘要
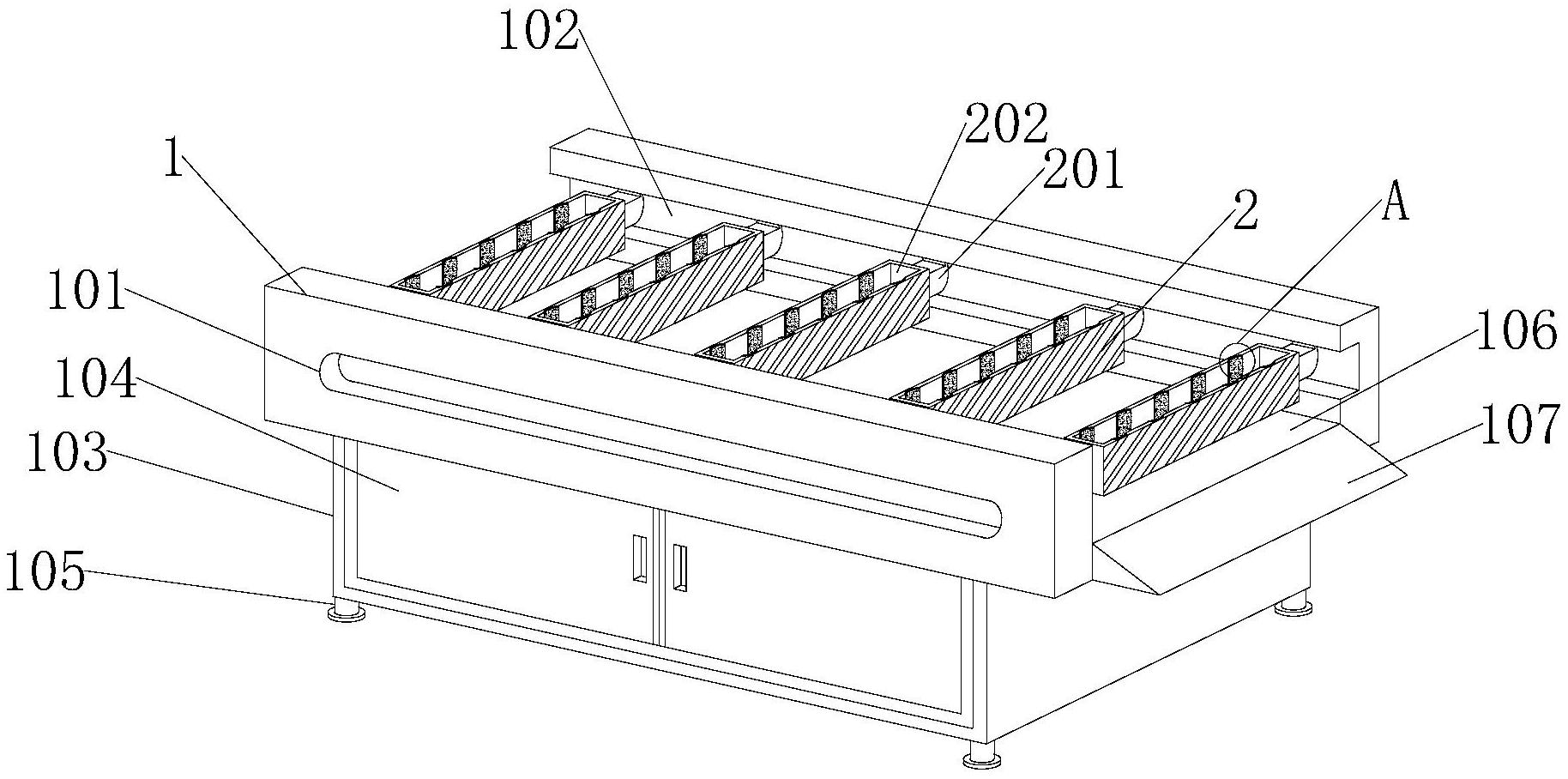
本实用新型提供了水平式连续灌装机封口设备,本实用新型涉及灌装封口设备技术领域,水平式连续灌装机封口设备,水平式连续灌装机封口设备包括:挡板,挡板设有两块,且两块挡板之间底部固定有将两块挡板为一体的横板,两块挡板内壁均开有凹槽,且两块挡板之间活动连接有五个水平等距排布的固定组件,固定组件表面开有方槽,且固定组件前后端均焊接有滑入凹槽内的圆杆,方槽内壁左右两面均开有五个对称排布的半圆槽,每个半圆槽内均设有垫板,且垫板与半圆槽内壁之间固定有使两者弹性连接的弹簧;立板,立板设有两块并对称排布;本实用新型的有益效果在于:加强被封口产品与设备之间的连接性/提高设备的封口效率。


