授权公布号:CN215158775U
一种具有防卡装置的理瓶机
有效
申请
2021-07-06
申请公布
1970-01-01
授权
2021-12-14
预估到期
2031-07-06
| 申请号 | CN202121518384.8 |
| 申请日 | 2021-07-06 |
| 授权公布号 | CN215158775U |
| 授权公告日 | 2021-12-14 |
| 分类号 | B65G47/34 |
| 分类 | 输送;包装;贮存;搬运薄的或细丝状材料; |
| 申请人名称 | 上海鼎丰酿造食品有限公司 |
| 申请人地址 | 上海市奉贤区庄行镇杨溇路388号 |
专利法律状态
2021-12-14
授权
状态信息
授权
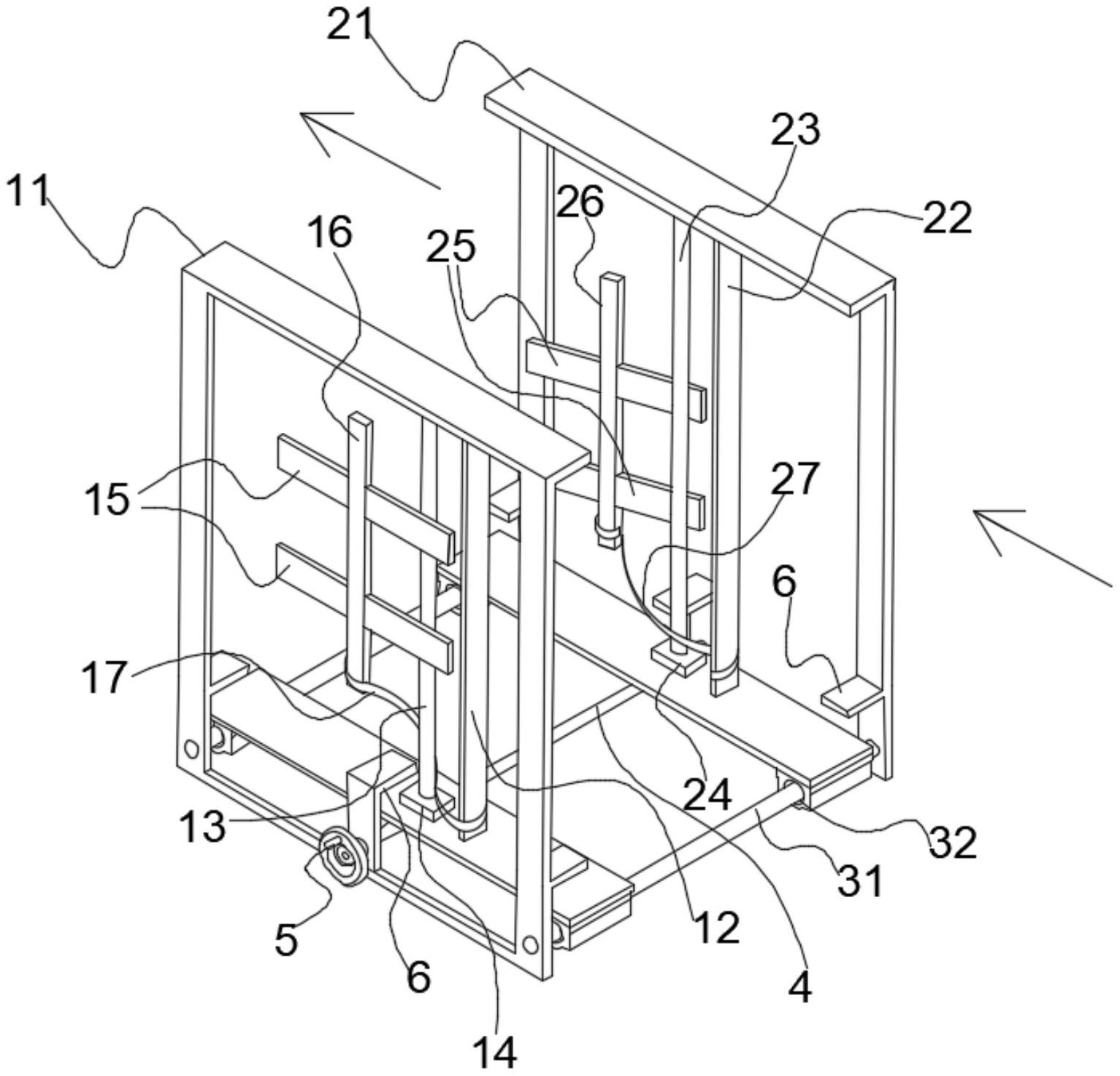
摘要
本实用新型公开了一种具有防卡装置的理瓶机,属于理瓶机出料防卡装置技术领域。它包括第一防倒组件、第二防倒组件、滑杆、丝杆、丝杆螺母,所述第一防倒组件与第二防倒组件相对设置,第一防倒组件与第二防倒组件为镜像对称结构;所述第一防倒组件包括第一防倒架、第一支撑杆、第一转轴、第一轴承座、第一防倒板、第一防倒杆、第一弹片;所述丝杆可转动设于第一防倒架底部,丝杆螺母设于第二防倒架底部,丝杆与丝杆螺母传动连接;所述滑杆的一端与第一防倒架底部固定连接,另一端可滑动穿设于第二防倒架底部的轴承内;所述滑杆与丝杆相互平行设置,实现防止瓶子在出料时向左右两侧倾倒,及防止瓶子在出料时向前倾倒。


