授权公布号:CN215124102U
一种豆腐乳自动接菌装置
有效
申请
2021-04-25
申请公布
1970-01-01
授权
2021-12-14
预估到期
2031-04-25
| 申请号 | CN202120857728.1 |
| 申请日 | 2021-04-25 |
| 授权公布号 | CN215124102U |
| 授权公告日 | 2021-12-14 |
| 分类号 | A23L11/50;A23L11/45;A23P30/00 |
| 分类 | 其他类不包含的食品或食料;及其处理; |
| 申请人名称 | 上海鼎丰酿造食品有限公司 |
| 申请人地址 | 上海市奉贤区庄行镇杨溇路388号 |
专利法律状态
2021-12-14
授权
状态信息
授权
摘要
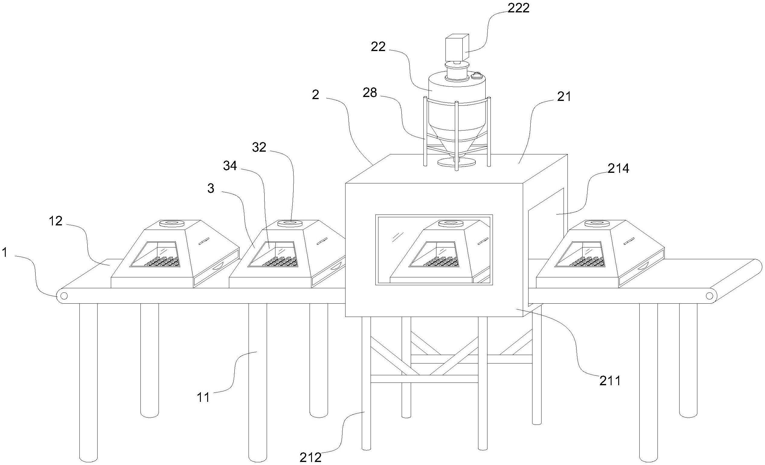
本实用新型公开了一种豆腐乳自动接菌装置,属于腐乳生产加工技术领域。包括输送机、接菌装置以及在运输在输送机输送带上的腐乳发酵箱;所述接菌装置包括接菌柜、接菌罐、伸缩气缸、升降板、波纹伸缩管、管接头以及旋转喷雾头;所述腐乳发酵箱包括箱体以及发酵筛屉,所述箱体内部设置有用于腐乳胚发酵的发酵筛屉,箱体顶部设置有用于旋转喷雾头伸入的接菌口。通过本实用新型,在运输有腐乳发酵箱的输送机上设置接菌装置,腐乳发酵箱进入接菌柜后,伸缩气缸带动旋转喷雾头进入腐乳发酵箱内部对腐乳胚进行喷雾接菌,代替传统人工手动接菌,提高接菌效率,实现自动喷涂菌种,喷洒均匀。


