授权公布号:CN215156257U
一种应用于生产线的热缩膜收缩装置
有效
申请
2021-07-07
申请公布
1970-01-01
授权
2021-12-14
预估到期
2031-07-07
| 申请号 | CN202121544864.1 |
| 申请日 | 2021-07-07 |
| 授权公布号 | CN215156257U |
| 授权公告日 | 2021-12-14 |
| 分类号 | B65B53/02 |
| 分类 | 输送;包装;贮存;搬运薄的或细丝状材料; |
| 申请人名称 | 上海鼎丰酿造食品有限公司 |
| 申请人地址 | 上海市奉贤区庄行镇杨溇路388号 |
专利法律状态
2021-12-14
授权
状态信息
授权
摘要
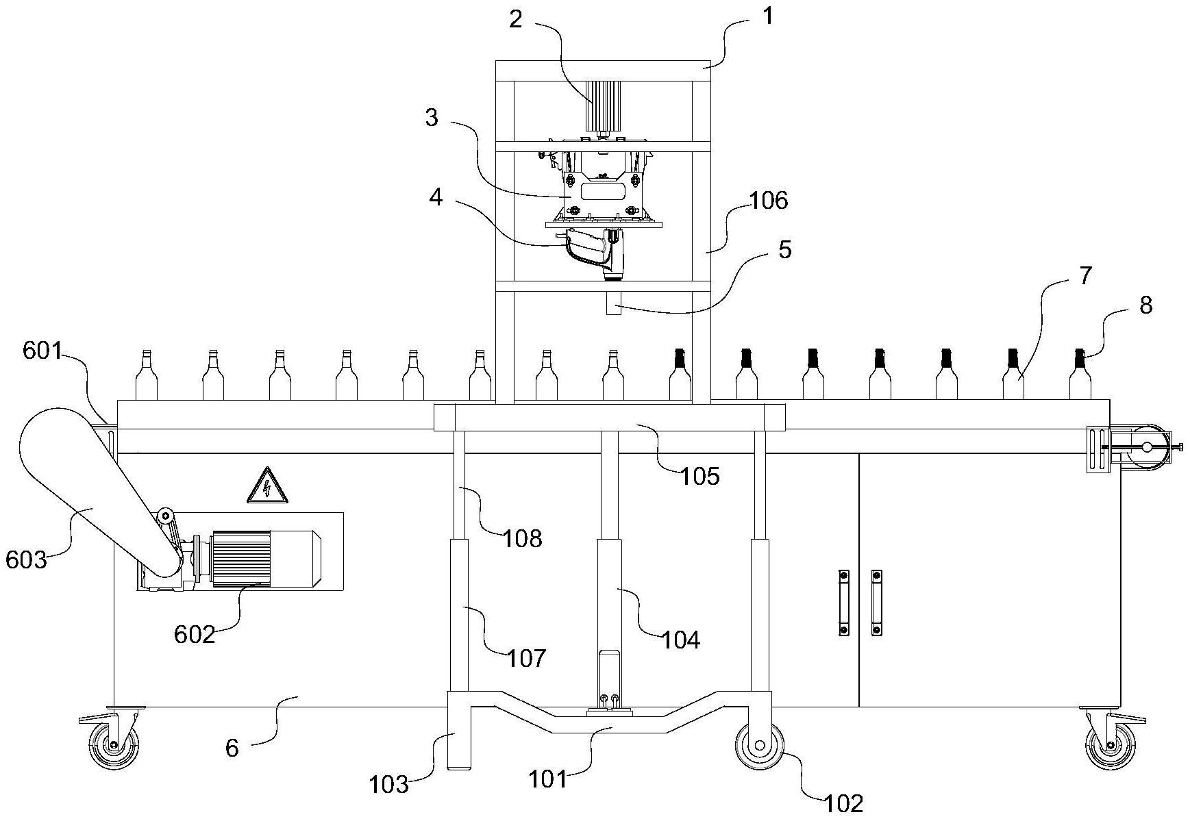
本实用新型公开了一种应用于生产线的热缩膜收缩装置,属于热缩膜加工技术领域。包括机架、升降气缸、安装架以及热风机;所述机架包括底座、滚轮、支腿、升降杆、升降平台以及顶部支架;所述升降气缸的缸体端固定在机架的顶部支架上,升降气缸的活塞杆端连接有安装架,所述安装架下方安装有多个并排设置的热风机,所述热风机的出风口端连接有热缩筒。通过本实用新型,提供一种热缩膜收缩装置,机架架设在输送机的上方,升降气缸伸缩带动安装架上的热风机上下移动,对输送带上的瓶装产品进行热缩膜收缩,机架可移动至输送架上的任意位置且机架高度可调节,满足不同高度的瓶装产品的热缩膜收缩,能够灵活应用在生产线上,方便使用,提高生产效率。


