授权公布号:CN217496597U
一种液体鞋油灌装机用自动下料装置
有效
申请
2022-04-28
申请公布
1970-01-01
授权
2022-09-27
预估到期
2032-04-28
| 申请号 | CN202221012714.0 |
| 申请日 | 2022-04-28 |
| 授权公布号 | CN217496597U |
| 授权公告日 | 2022-09-27 |
| 分类号 | B65B3/30;B65B3/04;B65B63/00 |
| 分类 | 输送;包装;贮存;搬运薄的或细丝状材料; |
| 申请人名称 | 沈阳翰皇日用品有限公司 |
| 申请人地址 | 辽宁省沈阳市浑南区高坎镇大夫村(翰皇工业园) |
专利法律状态
2022-09-27
授权
状态信息
授权
摘要
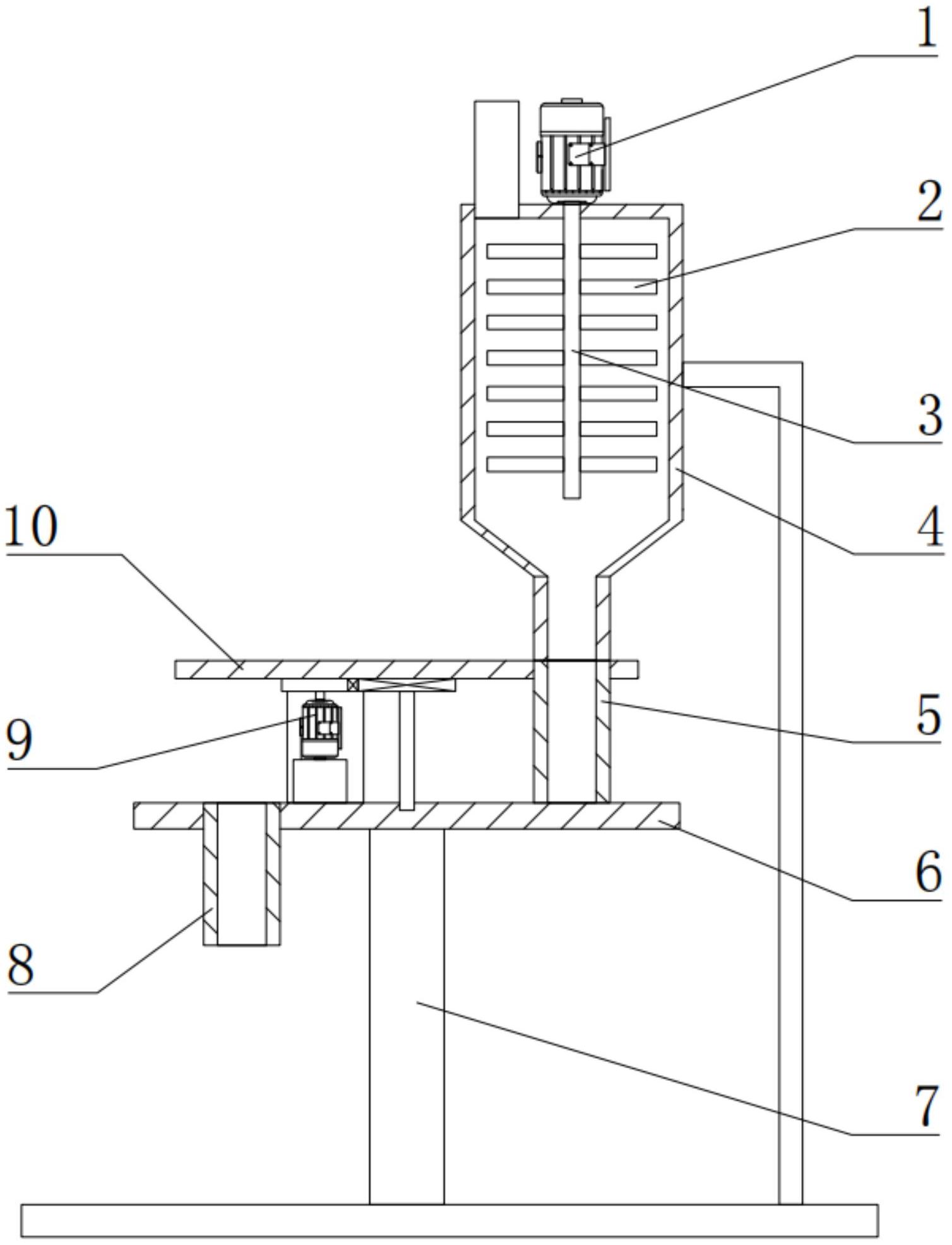
本实用新型公开了一种液体鞋油灌装机用自动下料装置,涉及下料装置的技术领域,本实用新型旨在解决灌装机下料堵塞的问题,本实用新型包括底板,所述底板上侧固定连接支撑柱,所述支撑柱上端固定连接圆盘下侧,所述圆盘下侧偏心处固定连通下料管上端;所述圆盘上侧安装有下料结构,所述下料结构上部安装有防凝结构;所述下料结构包括转盘、一组存料管、电机一、主动轮及从动轮。在对液体鞋油进行灌装下料时,通过一组搅拌杆不断的对鞋油进行搅拌,避免灌装过程中鞋油上侧凝固,导致下料管堵塞,同时通过存料管对鞋油进行暂时存放,存料管可将定量的鞋油输送至下料管内,再由灌装头将定量的鞋油进行灌装,结构紧凑,便于操作,且降低了成本。


