授权公布号:CN105105696B
一种洗鞋机
有效
申请
2015-09-15
申请公布
2015-12-02
授权
2018-03-23
预估到期
2035-09-15
| 申请号 | CN201510581865.6 |
| 申请日 | 2015-09-15 |
| 申请公布号 | CN105105696A |
| 申请公布日 | 2015-12-02 |
| 授权公布号 | CN105105696B |
| 授权公告日 | 2018-03-23 |
| 分类号 | A47L23/00 |
| 分类 | 家具;家庭用的物品或设备;咖啡磨;香料磨;一般吸尘器; |
| 申请人名称 | 沈阳翰皇日用品有限公司 |
| 申请人地址 | 辽宁省沈阳市东陵区高坎镇大夫村 |
专利法律状态
2018-03-23
授权
状态信息
授权
2016-07-27
实质审查的生效
状态信息
实质审查的生效IPC(主分类):A47L 23/00申请日:20150915
2015-12-02
公布
状态信息
公开
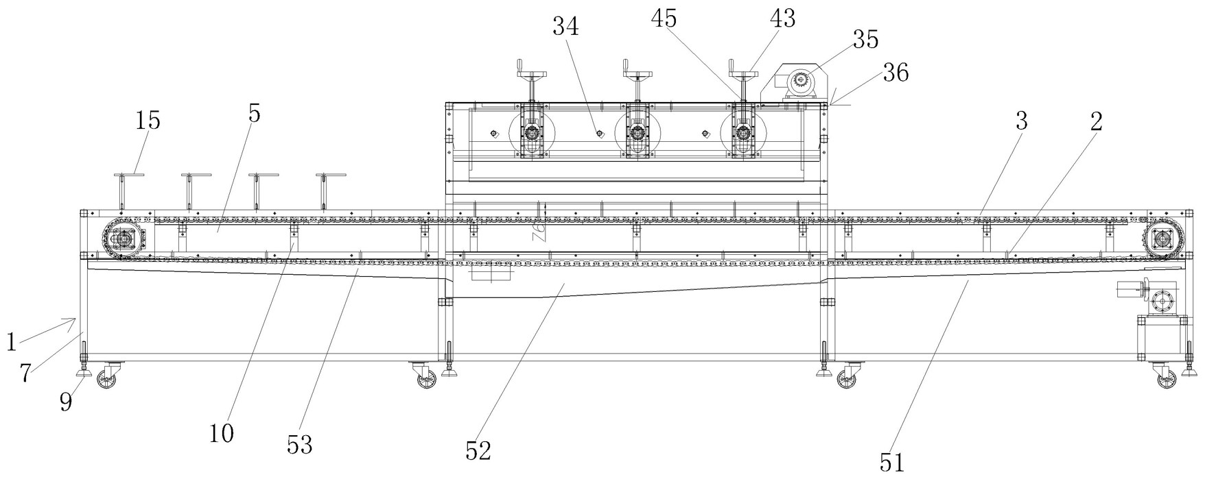
摘要
一种洗鞋机,包括机架、输鞋机构和洗鞋机构。输鞋机构包括由机架支撑的主动轴和从动轴,前、后闭环式链条和托板。主动轴上装设有第一主动链轮,第一电机通过驱动第一主动链轮带动前、后闭环式链条运动。托板由多个托板支杆支撑在前、后闭环式链条的对应的链条节上。托板上固定设置有多个鞋托。洗鞋机构包括清洗室、三个滚刷和多个喷头。清洗室固定在机架的上台板上,多个喷头和三个滚刷设置在清洗室内,三个滚刷由第二电机驱动。本发明能快速将运动鞋上的尘垢清洗洁净,速度快,质量好,能恢复运动鞋原有的美观状态。


