授权公布号:CN217568234U
一种鞋油生产用乳化机
有效
申请
2022-04-28
申请公布
1970-01-01
授权
2022-10-14
预估到期
2032-04-28
| 申请号 | CN202221012633.0 |
| 申请日 | 2022-04-28 |
| 授权公布号 | CN217568234U |
| 授权公告日 | 2022-10-14 |
| 分类号 | B01F23/41;B01F23/43;B01F35/12;B01F35/92;B01F29/90;B01F29/80 |
| 分类 | 一般的物理或化学的方法或装置; |
| 申请人名称 | 沈阳翰皇日用品有限公司 |
| 申请人地址 | 辽宁省沈阳市浑南区高坎镇大夫村(翰皇工业园) |
专利法律状态
2022-10-14
授权
状态信息
授权
摘要
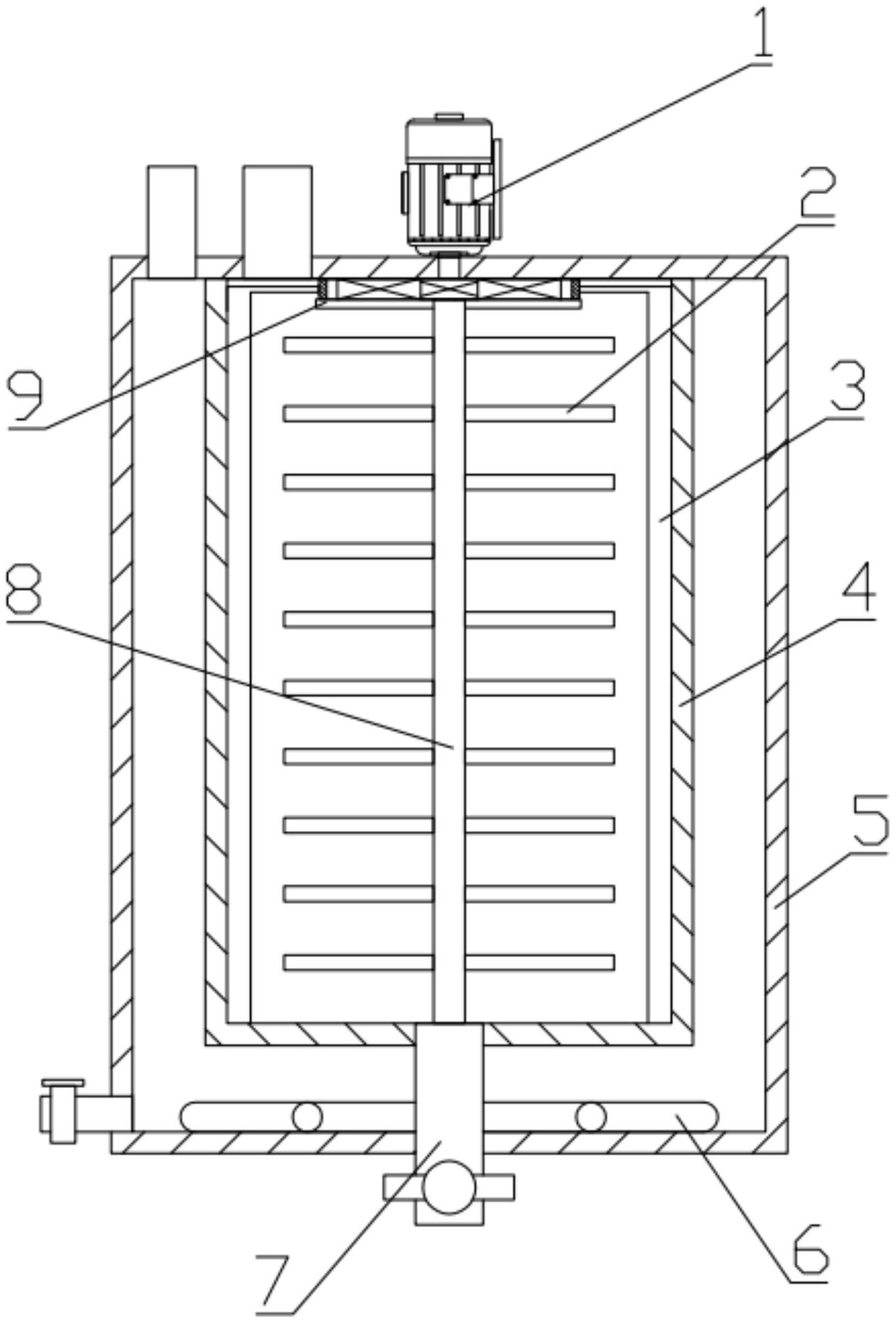
本实用新型公开了一种鞋油生产用乳化机,涉及鞋油生产的技术领域,本实用新型旨在解决鞋油原料乳化不均的问题,本实用新型包括外桶体及内桶体,所述内桶体上端固定连接所述外桶体内上部,所述内桶体与所述外桶体之间形成空腔;所述内桶体上侧偏心处固定连通入料管,所述外桶体上侧偏心处固定连通入水管,所述入水管位于所述空腔上方。将适量的水倒入至空腔内,通过环形电热丝对水加热,热水通过内桶体对原料进行加热,启动电机,一组搅拌杆对原料进行搅拌,通过热水加快蜡块的熔化,通过一组搅拌杆配合热水加热将物料搅拌乳化的更加细致,在搅拌的同时,通过一组刮板将附着在内桶体内壁的原料刮下,避免搅拌不均。


