授权公布号:CN209834539U
一种自组装鞋盒
有效
申请
2019-03-28
申请公布
1970-01-01
授权
2019-12-24
预估到期
2029-03-28
| 申请号 | CN201920404778.7 |
| 申请日 | 2019-03-28 |
| 授权公布号 | CN209834539U |
| 授权公告日 | 2019-12-24 |
| 分类号 | B65D85/18;B65D6/38;B65D6/22;B65D25/00 |
| 分类 | 输送;包装;贮存;搬运薄的或细丝状材料; |
| 申请人名称 | 沈阳翰皇日用品有限公司 |
| 申请人地址 | 辽宁省沈阳市东陵区高坎镇大夫村 |
专利法律状态
2019-12-24
授权
状态信息
授权
摘要
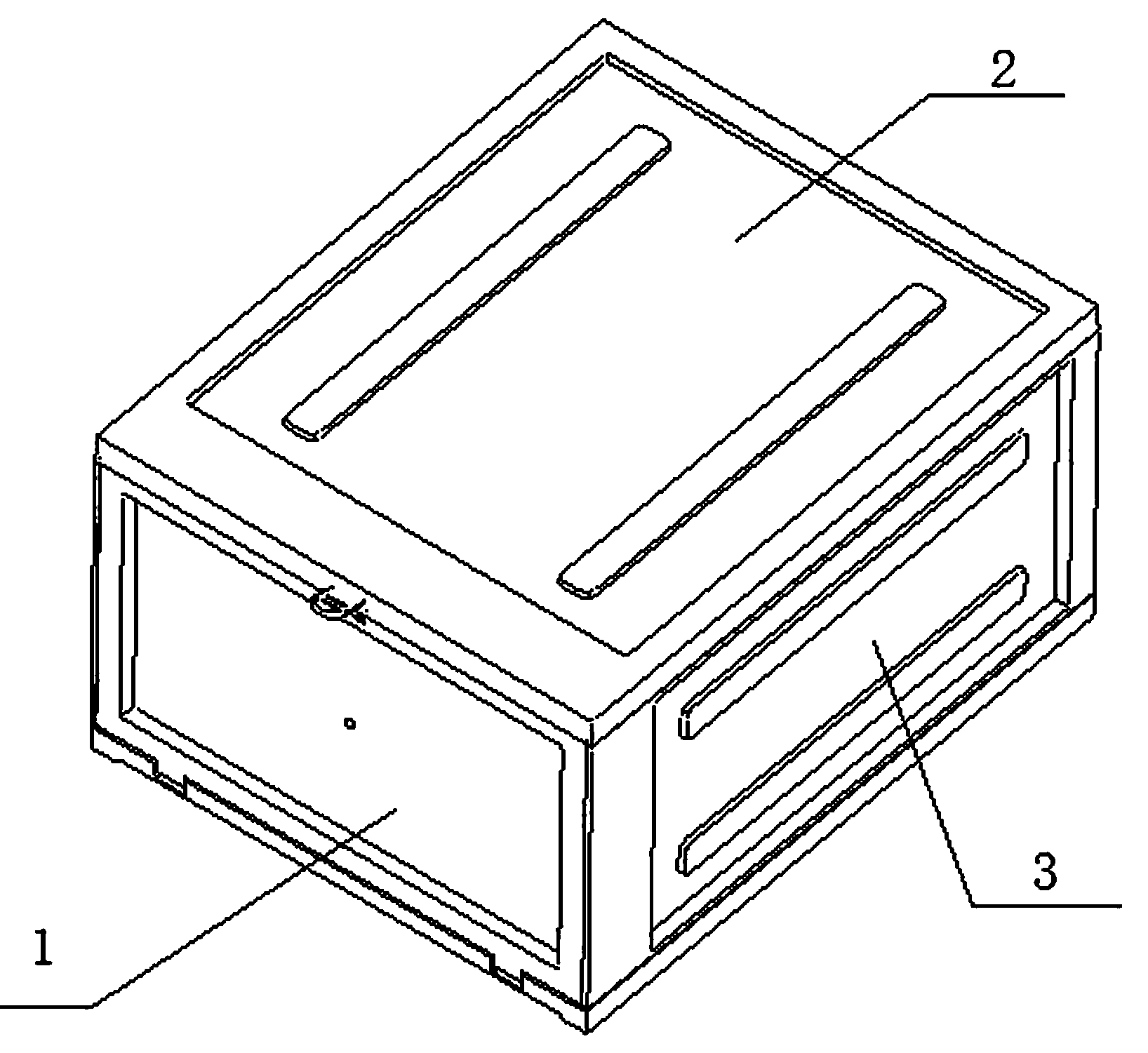
一种自组装鞋盒,涉及居家收纳领域,所述鞋盒包括门板(1)、盒盖(2)、侧板(3)、后板(4)、盒底(5),门板(1)与盒底(5)经门板轴(11)连接,可旋转开合,所述盒盖(2)、所述侧板(3)和后板(4)置于盒盖(2)及盒底(5)的插槽(8)内经卡扣(9)和卡槽(10)卡合连接,所述盒底(5)中部制有向外凸起的凸槽(6),所述凸槽(6)内开有通孔(7)。该鞋盒盒盖、侧板、后板及盒底上均制有凸槽,结合加强筋具有加强作用,使鞋盒不易坍塌,增强使用寿命。盒底凸槽内的通孔一方面有利于盒内沙土排出,另一方面起到排气孔的作用,有利于鞋盒内外空气流通,减少盒内异味的同时,有利于鞋子长时间存放,不易被氧化。


