授权公布号:CN205191305U
一种三防灯
有效
申请
2015-11-27
申请公布
1970-01-01
授权
2016-04-27
预估到期
2025-11-27
| 申请号 | CN201520965707.6 |
| 申请日 | 2015-11-27 |
| 授权公布号 | CN205191305U |
| 授权公告日 | 2016-04-27 |
| 分类号 | F21S2/00;F21V15/02;F21V17/18;F21V19/00;F21V23/00;F21V29/89;F21V31/00;F21Y103/00N;F21Y115/10N |
| 分类 | 照明; |
| 申请人名称 | 鸿联灯饰有限公司 |
| 申请人地址 | 江苏省常州市武进区横林镇横遥路1号 |
专利法律状态
2016-04-27
授权
状态信息
授权
摘要
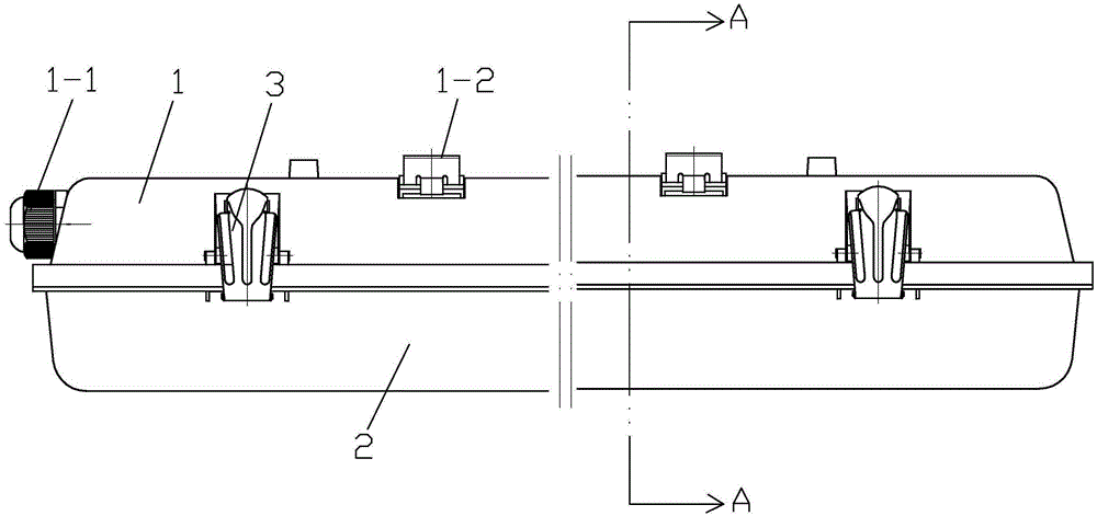
本实用新型提供一种三防灯,包括灯壳、灯罩、密封圈和电路板;其结构特点是:还包括锁紧搭扣、电路板锁扣、灯座和LED灯管;灯罩与灯壳间设置密封圈后通过锁紧搭扣将灯罩与灯壳固定连接;灯罩与灯壳间的密封空间构成灯内腔;电路板锁扣固定设置在灯壳内;电路板由电路板锁扣固定安装在灯内腔内上下向的中间位置;灯座设置在灯内腔内;灯座固定设置在电路板上且位于电路板的下方;LED灯管设置在灯内腔内;LED灯管设置在灯座上并与电路板电连接。本实用新型成本较低、发光效率高、散热性能好、使用寿命长、抗冲击和震动能力强且节能环保。


