授权公布号:CN114484341B
用于嵌入式灯具尺寸可调节的安装装置
有效
申请
2022-02-25
申请公布
2022-05-13
授权
2024-03-01
预估到期
2042-02-25
| 申请号 | CN202210205868.X |
| 申请日 | 2022-02-25 |
| 申请公布号 | CN114484341A |
| 申请公布日 | 2022-05-13 |
| 授权公布号 | CN114484341B |
| 授权公告日 | 2024-03-01 |
| 分类号 | F21S8/02;F21V21/104;F21V21/14 |
| 分类 | 照明; |
| 申请人名称 | 生迪光电科技股份有限公司 |
| 申请人地址 | 浙江省嘉兴市桐乡市乌镇镇民合经济园区 |
专利法律状态
2024-03-01
授权
状态信息
授权
2022-05-31
实质审查的生效
状态信息
实质审查的生效;IPC(主分类):F21S8/02;申请日:20220225
2022-05-13
公布
状态信息
公布
摘要
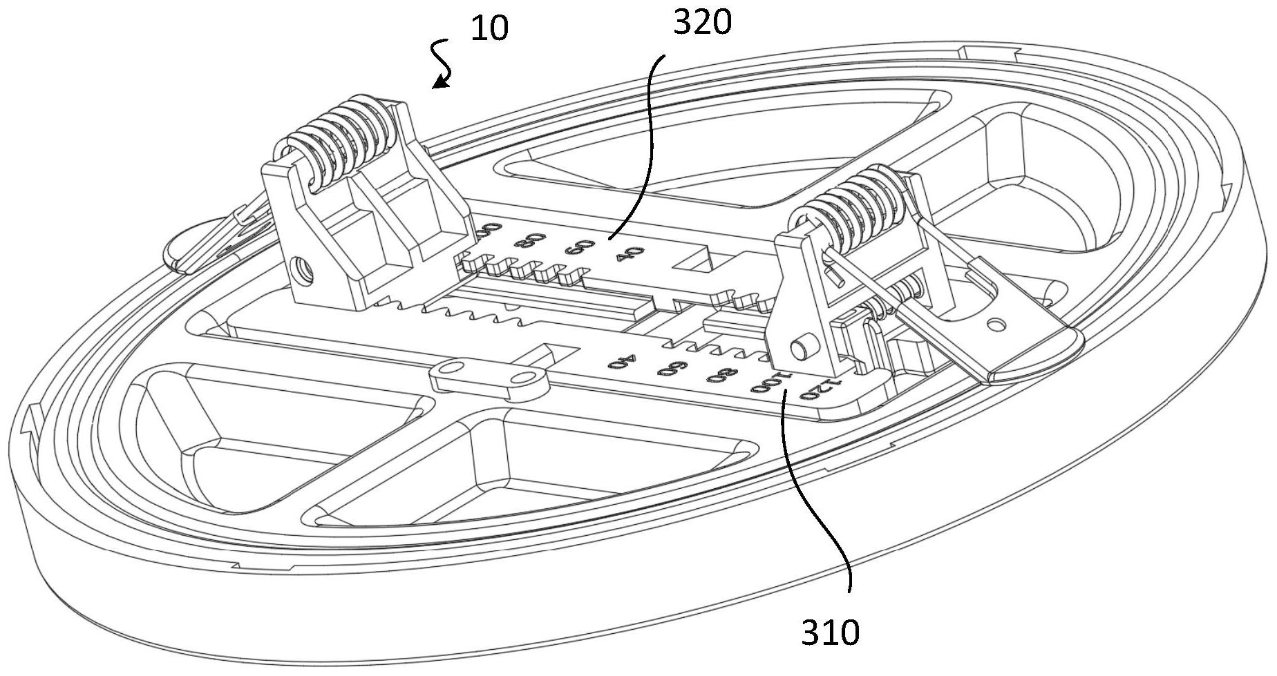
本发明提供一种用于嵌入式灯具尺寸可调节的安装装置,该安装装置包括:导向组件;滑动组件与所述导向组件滑动连接,所述滑动组件上安装有用于将所述嵌入式灯具固定于天花板上的边弹簧;限位组件与所述导向组件均固定安装于所述嵌入式灯具的后盖上,所述限位组件用于限制所述滑动组件在所述导向组件上的位置,以使得两个所述边弹簧之间的距离匹配所述天花板上安装孔的尺寸;该安装装置通过使得滑动组件沿导向组件进行滑动,以调节滑动组件上的两个边弹簧的相对位置,并使得两个边弹簧之间的距离匹配不同的天花板上安装孔的尺寸,不仅增大了该安装装置的应用范围且该结构简单,制造成本较低。


