授权公布号:CN209997726U
一种果汁挤压装置
有效
申请
2019-05-17
申请公布
1970-01-01
授权
2020-01-31
预估到期
2029-05-17
| 申请号 | CN201920709731.1 |
| 申请日 | 2019-05-17 |
| 授权公布号 | CN209997726U |
| 授权公告日 | 2020-01-31 |
| 分类号 | B02C18/10;B02C18/18;B30B9/04 |
| 分类 | 破碎、磨粉或粉碎;谷物碾磨的预处理; |
| 申请人名称 | 开封市三锋食品饮料有限公司 |
| 申请人地址 | 河南省开封市尉氏县大营东开发区 |
专利法律状态
2020-01-31
授权
状态信息
授权
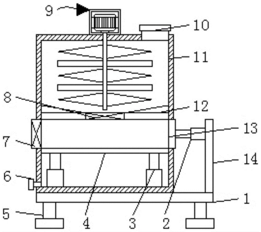
摘要
本实用新型公开了一种果汁挤压装置,包括本体,所述本体的顶部固定连接有挤压箱,所述挤压箱顶部的中端设置有粉碎机构,所述挤压箱内腔的中端固定连接有隔板,所述隔板的中端开设有导流口,且导流口的内腔固定安装有第一电磁阀,所述隔板顶部的左右两侧均固定连接有导流板。本实用新型通过电机、粉碎片、粉碎杆和转动杆的配合,起到了将果实粉碎的效果,方便挤压出果汁,且挤压效率高,通过竖板左侧的上端固定连接有第一电动伸缩杆,第一电动伸缩杆的左侧固定连接有推板,起到了挤压出果汁的效果,解决了现有的挤压装置都为整个果实进行挤压,这样挤压效果不理想,经常出现有果实未完全压榨成果汁,这样非常浪费的问题。


