授权公布号:CN214059024U
一种全自动上瓶、理瓶机
有效
申请
2020-12-29
申请公布
1970-01-01
授权
2021-08-27
预估到期
2030-12-29
| 申请号 | CN202023244317.X |
| 申请日 | 2020-12-29 |
| 授权公布号 | CN214059024U |
| 授权公告日 | 2021-08-27 |
| 分类号 | B65G47/14;B65G65/36 |
| 分类 | 输送;包装;贮存;搬运薄的或细丝状材料; |
| 申请人名称 | 开封市三锋食品饮料有限公司 |
| 申请人地址 | 河南省开封市尉氏县大营东开发区 |
专利法律状态
2021-08-27
授权
状态信息
授权
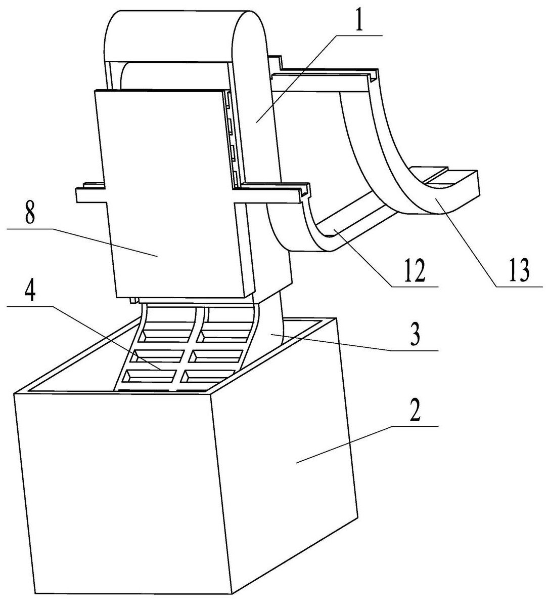
摘要
一种全自动上瓶、理瓶机,其目的在于解决现有设备占地空间大,整体能耗大,经济效益低的问题;包括机架,机架外部设有储料斗,灌装瓶放置在储料斗内,机架内设有输送架,输送架上固定有输送带,输送带上均布设置有挡料板,挡料板的截面呈L型,挡料板与输送带之间设有限位板,限位板上开设有圆弧形的凹槽,机架上设有位于输送带前后两侧的前挡板和后挡板,前挡板上设有第一出料口,后挡板上设有第二出料口,第一出料口经第一翻瓶机构连接输出传送带,第二出料口经第二翻瓶机构连接输出传送带;本实用新型结构简单巧妙,将原上瓶机进行改进,在上瓶的同时完成理瓶的过程,减少设备的投入,提升空间利用率,降低能耗。


