授权公布号:CN110260379B
一种带有油污分离装置的集成灶及其加工方法
有效
申请
2019-06-27
申请公布
2019-09-20
授权
2024-02-23
预估到期
2039-06-27
| 申请号 | CN201910565870.6 |
| 申请日 | 2019-06-27 |
| 申请公布号 | CN110260379A |
| 申请公布日 | 2019-09-20 |
| 授权公布号 | CN110260379B |
| 授权公告日 | 2024-02-23 |
| 分类号 | F24C15/20;B25B27/00 |
| 分类 | 供热;炉灶;通风; |
| 申请人名称 | 浙江蓝炬星电器有限公司 |
| 申请人地址 | 浙江省绍兴市嵊州市经济开发区浙锻路55号 |
专利法律状态
2024-02-23
授权
状态信息
授权
2019-10-22
实质审查的生效
状态信息
实质审查的生效;IPC(主分类):F24C15/20;申请日:20190627
2019-09-20
公布
状态信息
公布
摘要
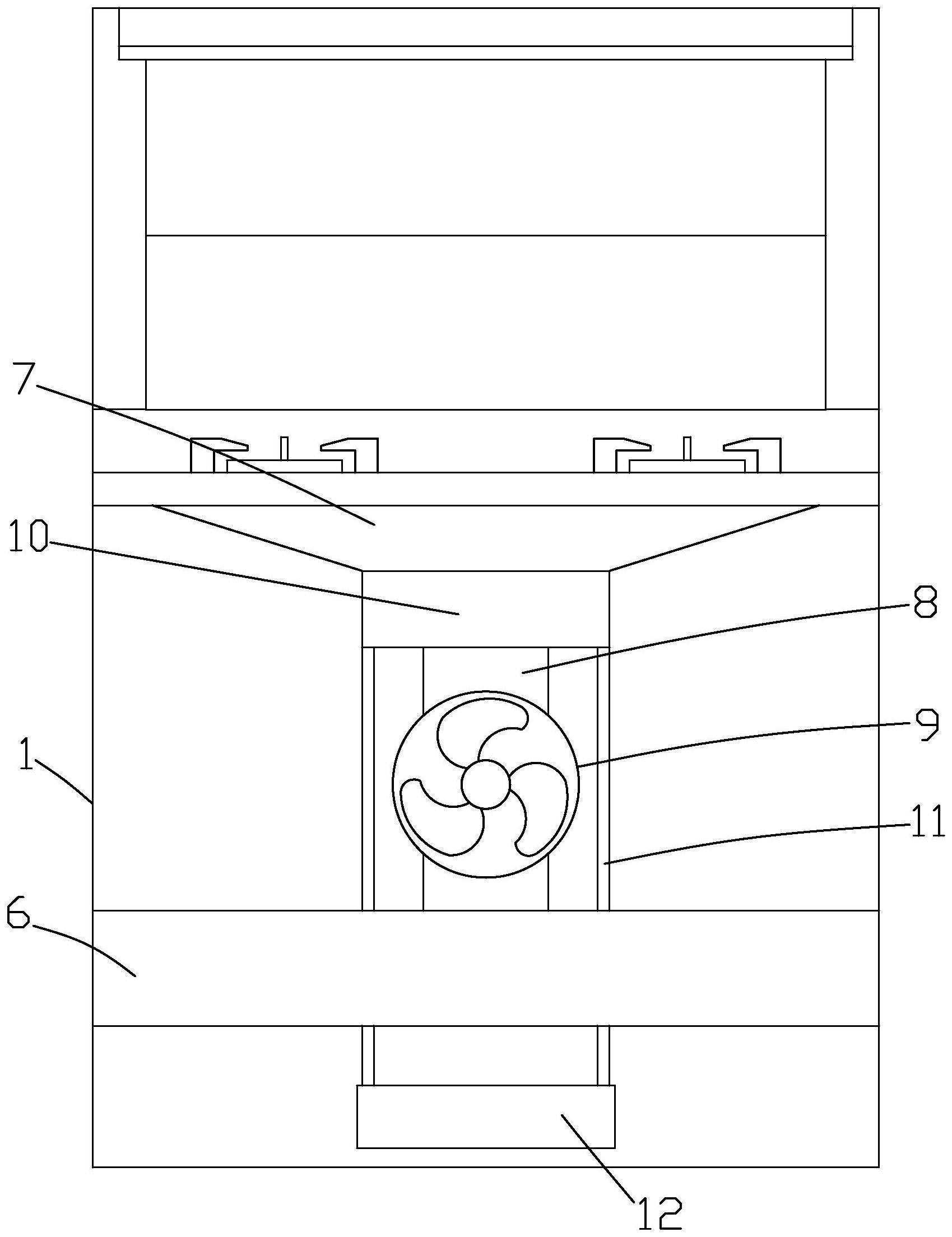
本发明公开了一种带有油污分离装置的集成灶及其加工方法,包括集成灶本体,还包括油污分离装置,油污分离装置固定连接在集烟腔的底部,油污分离装置通过输送管连接排烟管,排烟管水平设置在集成灶本体的内部,输送管上设置有风机。其加工方法包括:集成灶本体加工、输风管道加工、油污分离装置安装、集油盒安装和集成灶试运行。本发明通过油污分离装置的设计,不仅可以实现油烟中油分子的快速分离,减少对环境的污染,而且可以减少油污积聚在风机与输送管、排烟管的内部,延长风机的使用寿命,同时降低了清洁的难度,减小集成灶工作时的噪音。


