授权公布号:CN213336585U
一种可调节的扭矩测试仪
有效
申请
2020-10-25
申请公布
1970-01-01
授权
2021-06-01
预估到期
2030-10-25
| 申请号 | CN202022390072.5 |
| 申请日 | 2020-10-25 |
| 授权公布号 | CN213336585U |
| 授权公告日 | 2021-06-01 |
| 分类号 | G01L3/04 |
| 分类 | 测量;测试; |
| 申请人名称 | 上海虎啸电动工具有限公司 |
| 申请人地址 | 上海市闵行区华宁路3740弄150号 |
专利法律状态
2021-06-01
授权
状态信息
授权
摘要
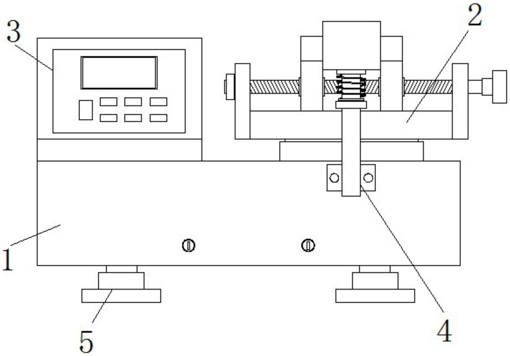
本实用新型公开了一种可调节的扭矩测试仪,包括仪器主体、测试架底座和限位机构,所述测试架底座放置在仪器主体顶部,所述限位机构可拆卸式安装在仪器主体表面且与测试架底座连接限位,所述限位机构包括固定杆、活动压紧板、限位柱和调节组件,所述固定杆下端表面固定有固定板,所述固定板通过螺钉固定在仪器主体表面,所述活动压紧板垂直且套设安装在固定杆上端,所述调节组件活动套设在固定杆上端,所述限位柱垂直安装在活动压紧板端部;本实用新型通过设置有限位机构,可对安装在测试架底座进行固定限位,既不影响测试架正常工作,又降低因为使用造成转动或者移动的几率,从而减少影响物品扭矩的正常检测,且整个组件方便安装和拆卸。


