授权公布号:CN215255462U
侧转门合页结构
有效
申请
2021-05-25
申请公布
1970-01-01
授权
2021-12-21
预估到期
2031-05-25
| 申请号 | CN202121137602.3 |
| 申请日 | 2021-05-25 |
| 授权公布号 | CN215255462U |
| 授权公告日 | 2021-12-21 |
| 分类号 | E05D5/02;E05D11/00;E05D11/02 |
| 分类 | 锁;钥匙;门窗零件;保险箱; |
| 申请人名称 | 无锡旭峰门业制造有限公司 |
| 申请人地址 | 江苏省无锡市锡山区东港镇里国开发区 |
专利法律状态
2021-12-21
授权
状态信息
授权
摘要
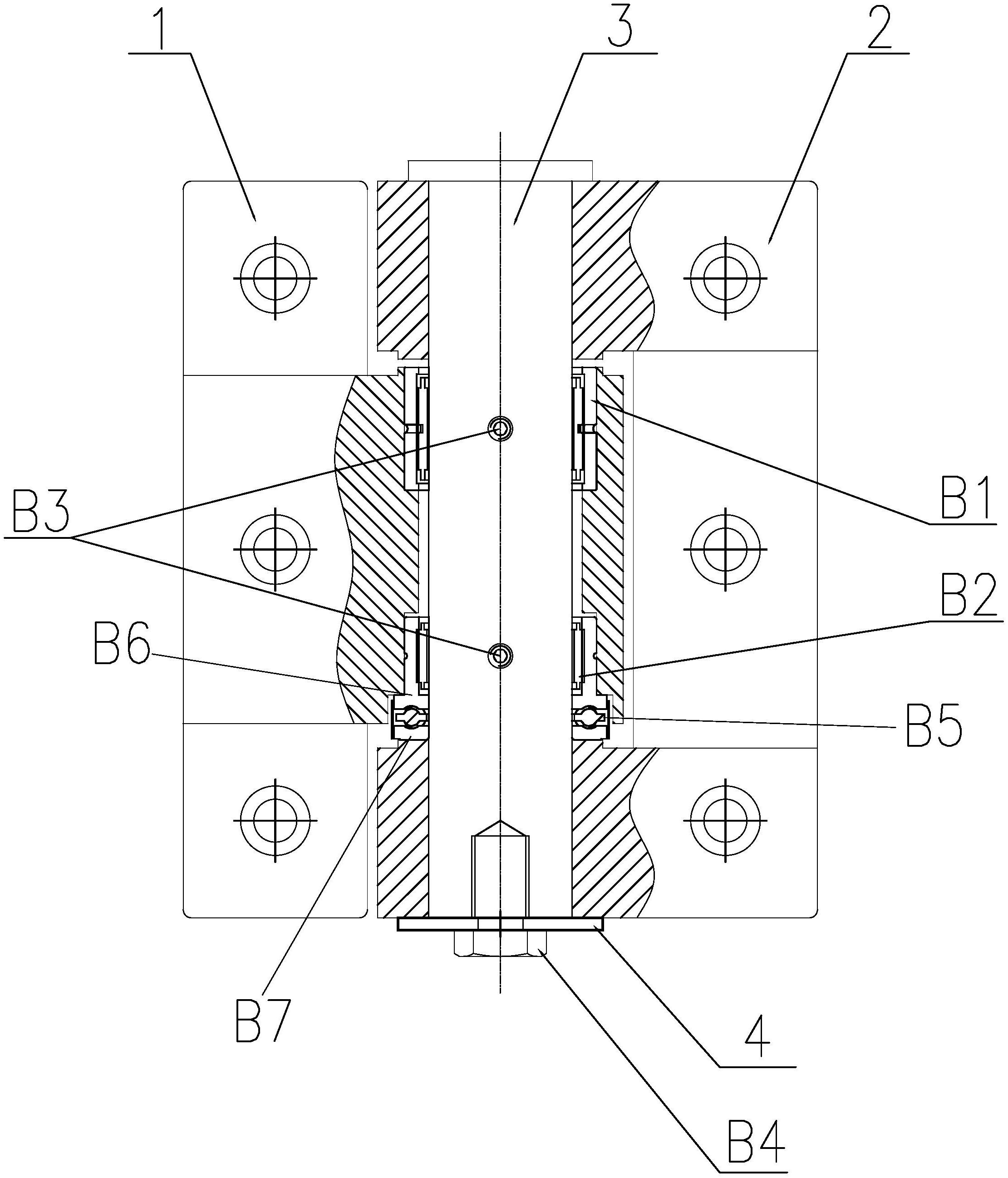
本实用新型属于侧转门设备技术领域,涉及一种侧转门合页结构,包括公合页、母合页,所述公合页与母合页通过合页轴转动连接;公合页的公部内孔轴向两端分别设置轴承工位,其中公合页公部的上部轴承工位设置第一滚针轴承,公合页公部的下部轴承工位设置组合轴承组件,所述组合轴承组件包括第二滚针轴承、平面推力球轴承,所述第二滚针轴承和平面推力球轴承具有共用的主壳体。该合页结构能够实现门扇自由无卡滞的转动,能有效满足使用需要。


